Кондуктор для сверления отверстий под шканты своими руками: Простой кондуктор для сверления отверстий под шканты
Кондуктор для сверления отверстий своими руками: шаблон для сборки мебели
Точно и качественно выполнить отверстия в изделиях, изготовленных из натуральной древесины, ДСП, МДФ, металла и других материалов, позволяет такое удобное приспособление, как кондуктор. Таким приспособлением, в частности, активно пользуются специалисты, занимающиеся производством мебели. При этом кондуктор можно как приобрести в серийном исполнении, так и сделать своими руками.
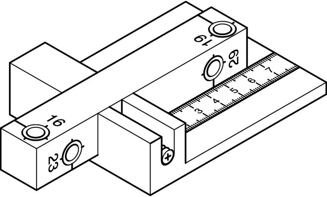
Универсальный кондуктор ползункового типа для сверления отверстий под евровинты и шканты
Особенности конструкции и виды
Кондуктор, по сути, – это шаблон для сверления отверстий, позволяющий выполнить их максимально точно. Используют его и для создания отверстий, ось которых располагается перпендикулярно поверхности детали, и для сверления под углом.
Благодаря своей универсальности и простоте кондукторы для сверления отверстий активно применяются в различных сферах. В частности, в машиностроительной отрасли с их помощью уже давно и успешно выполняют сверление отверстий в заготовках различной конфигурации и изготовленных из разных материалов.
Даже простое приспособление в виде планки с упором намного облегчает и ускоряет процесс изготовления однотипных отверстий
В качестве мебельного кондуктора чаще всего применяются накладные модели, изготовленные из легких материалов, чтобы было удобнее ими манипулировать. Можно приобрести такие приспособления в заводском исполнении или изготовить мебельный кондуктор своими руками. Квалифицированные специалисты-мебельщики могут и не использовать кондуктор, чтобы качественно и точно просверлить отверстие в элементах мебельной конструкции, но для этого они должны обладать большим опытом работы в своей области.
Наиболее значимое преимущество кондуктора заключается в том, что с его помощью качественное и точное сверление как перпендикулярного к поверхности детали, так и наклонного отверстия может выполнить даже человек, не обладающий высокой квалификацией. Использование кондукторов исключает необходимость сложных предварительных расчетов и разметки мест расположения будущих отверстий, что снижает трудоемкость сборки мебельной конструкции и позволяет выполнить такую работу за более короткий промежуток времени. Даже начинающий специалист может разобраться в применении кондуктора для сверления под шканты и для решения других технологических задач.
Накладной кондуктор с револьверной головкой подходит для сверловки типовых отверстий под шканты любого размера
Прежде чем приобрести или изготовить свой самодельный кондуктор, определите, для решения каких задач необходимо его использовать, и на основе этих данных выберите его тип и конструктивное исполнение.
Среди кондукторов для сверления отверстий по типу конструкции и функциональным возможностям можно выделить целый ряд категорий.Накладные
Эти кондукторы называются так потому, что их накладывают на обрабатываемую деталь и закрепляют на ней либо просто фиксируют руками. Посредством кондукторов данного типа, в частности, выполняют сверление отверстий в ДСП, плитах МДФ и в других плоских деталях.
ПоворотныеТакие шаблоны можно использовать для того, чтобы выполнять отверстия на деталях цилиндрической формы. Кондукторы данного типа оснащаются вертикальными и горизонтальными осями поворота, что дает возможность выполнять с их помощью отверстия под различными углами.
УниверсальныеЭто приспособления, которые особенно актуальны для маленьких серийных производств, где важна возможность быстрой переналадки используемого оборудования. Кондуктор данного типа как раз и наделен такими функциями.
Этот универсальный кондуктор предназначен для засверливания отверстий под минификс, конфирмат, рафикс и дверную петлю
ОпрокидываемыеДанные приспособления для сверления отверстий требуются в тех случаях, когда такую технологическую операцию приходится выполнять в нескольких плоскостях.
Скользящий кондуктор в полном соответствии со своим названием не требует закрепления: его просто прикладывают к тому участку поверхности детали, где надо просверлить отверстие. Закрепляемые кондукторные устройства, хотя и являются более удобными, несколько ограничивают свободу действий специалиста, что особенно критично при выполнении сверлильных работ на станках, оснащенных только одним шпинделем.
Сферы использования
Мебельные кондукторы и шаблоны – это приспособления, без которых практически не обойтись при сборке мебельных конструкций. Использование кондукторов позволяет избежать основной проблемы, возникающей при сверлении отверстий, – вхождения сверла в обрабатываемую деталь не под тем углом. Исправление этой ошибки отнимает много времени и сил, и не всегда ее вообще можно исправить. Кондуктор, используемый для сверления отверстий, не только позволяет правильно сориентировать сверло на месте выполнения обработки, но и не дает инструменту сбиться с заданной траектории.
Такие приспособления, как мебельные кондукторы и шаблоны, применяются и при производстве, и при сборке мебели, когда в соединяемых элементах надо выполнить отверстия для размещения крепежных элементов. В таких случаях часто используется кондуктор для шкантов или кондуктор для сверления под конфирмат, без которых выполнить качественные отверстия под крепеж не представляется возможным. Незаменимым такое приспособление является в тех случаях, когда требуется сделать отверстия, в том числе и под углом, в тонких плитах (в частности, при выполнении отверстий в ДСП или МДФ).
Кондуктор для косых отверстий незаменим при устройстве скрытых соединений панелей и досок
При использовании кондуктора для сверления отверстий процесс сборки мебели происходит просто и быстро. Применяя такое приспособление, сверление отверстий можно выполнять на любом удалении от края детали вне зависимости от ее ширины.
В современной мебели активно используются шканты, которые в то же время являются достаточно устаревшим крепежным элементом.
Именно поэтому кондуктор для шкантов (doweling jig) применяется в производстве мебельных конструкций. Основная сложность при использовании таких крепежных элементов заключается в том, чтобы оси отверстий, выполняемых в соединяемых деталях, имели между собой прямой угол. Соответственно, располагаться такие отверстия должны строго перпендикулярно друг к другу. Без применения такого приспособления, как кондуктор для шкантов, выполнить их затруднительно.
Кондуктор для выполнения отверстий в трубках будет весьма полезным приспособлением для домашней мастерской
Мебельное производство – не единственная сфера, в которой используются кондукторы, предназначенные для сверления отверстий. Шаблоны не менее часто применяют и для того, чтобы просверлить отверстие в трубе и других деталях, имеющих цилиндрическую форму. Кондукторы позволяют выполнять качественные отверстия даже в трубах небольшого диаметра.
Размер и принцип работы современных кондукторов могут быть различными. Некоторые из моделей таких устройств намного легче купить, а отдельные несложно изготовить своими руками.
В пользу того, чтобы изготовить мебельный кондуктор для сверления отверстий своими руками, говорит и тот факт, что серийные устройства, особенно универсального назначения, стоят недешево.
Самодельные кондукторные устройства
Кондукторы простейшей конструкции, например, те, которые используются для сверления отверстий под конфирмат, стоят относительно недорого, поэтому многие мастера не озадачиваются их самостоятельным изготовлением и приобретают серийные модели. Между тем есть и те, кто даже такие простые устройства старается сделать своими руками. Вопрос о том, как сделать кондуктор для сверления своими руками, часто появляется и при необходимости просверлить нестандартные отверстия.
Чтобы самостоятельно изготовить кондуктор для шкантов или более простой по конструкции кондуктор для конфирматов, можно воспользоваться чертежами и видео в интернете.
При изготовлении кондуктора потребуется идеально точное сверление направляющих отверстий и закалка готового приспособления
Для изготовления такого устройства, естественно, потребуется его чертеж.
Нужен также минимальный набор инструментов и оборудования:
- электрическая или ручная дрель;
- набор слесарных инструментов;
- болгарка;
- сварочный аппарат (для изготовления кондукторных приспособлений более сложной конструкции).
Простейший самодельный кондуктор можно изготовить из подручных средств и материалов, которые в избытке имеются в большинстве домашних мастерских или гаражей. Использование таких материалов, к которым относятся куски металлической арматуры, деревянные бруски, металлические пластины и др., позволяет значительно сэкономить на приобретении серийной модели устройства.
Чертеж самодельного кондуктора для высверливания отверстий под конфирматы
Изготовление самодельного кондуктора для дрели или одношпиндельного станка проходит в несколько этапов.
- Квадратную арматуру сечением 10 на 10 мм, используя ножовку по металлу или болгарку, необходимо нарезать на отрезки требуемой длины.
- Центры отверстий, через которые будет выполняться сверление, должны находиться на расстоянии 8 мм от края кондукторной плиты.

Именно на таком расстоянии расположен центр плиты ДСП или МДФ, в которой сверлят отверстие. - Шаг между отверстиями на кондукторе в соответствии с общепринятыми мебельными стандартами составляет 32 мм, при этом диаметр таких отверстий должен быть равен 5 мм.
- Если оснастить самодельный кондуктор упором, то использовать такое приспособление будет значительно удобнее. Для создания такого упора нужна металлическая пластина толщиной 1 мм и шириной 25 мм, которую сгибают под прямым углом и фиксируют на уже готовом кондукторном приспособлении, изготовленном из арматуры.
- После того как конструктивные элементы самодельного кондуктора зафиксированы при помощи струбцины, их необходимо надежно соединить между собой, используя для этого резьбовые крепежные элементы.
Готовый кондуктор с поворотными упорами
Чтобы минимизировать количество пыли, образующейся при использовании самодельного кондуктора, его конструкцию можно дополнить половинкой пластиковой бутылки.
Такое простейшее приспособление может выступать и в качестве поддона, в котором будет собираться образующаяся в процессе сверления стружка.
Описанный выше метод позволяет изготовить простейший самодельный кондуктор, который значительно облегчает и ускоряет процесс сборки любой мебельной конструкции.
Кондуктор для сверления отверстий своими руками: шаблон для сборки мебели
Точно и качественно выполнить отверстия в изделиях, изготовленных из натуральной древесины, ДСП, МДФ, металла и других материалов, позволяет такое удобное приспособление, как кондуктор. Таким приспособлением, в частности, активно пользуются специалисты, занимающиеся производством мебели. При этом кондуктор можно как приобрести в серийном исполнении, так и сделать своими руками.
Универсальный кондуктор ползункового типа для сверления отверстий под евровинты и шканты
Особенности конструкции и виды
Кондуктор, по сути, – это шаблон для сверления отверстий, позволяющий выполнить их максимально точно.
Используют его и для создания отверстий, ось которых располагается перпендикулярно поверхности детали, и для сверления под углом.
Благодаря своей универсальности и простоте кондукторы для сверления отверстий активно применяются в различных сферах. В частности, в машиностроительной отрасли с их помощью уже давно и успешно выполняют сверление отверстий в заготовках различной конфигурации и изготовленных из разных материалов. Нельзя работать без кондуктора и в мебельном производстве, где такое приспособление активно используется при сборке мебели, установке на нее фурнитуры и выполнении целого ряда других технологических операций. Строительство – еще одна сфера, где кондукторы находят широкое применение. С их помощью, в частности, выполняют бурение отверстий в строительных конструкциях. Кондукторы также необходимы для сверления труб и решения других задач.
Даже простое приспособление в виде планки с упором намного облегчает и ускоряет процесс изготовления однотипных отверстий
В качестве мебельного кондуктора чаще всего применяются накладные модели, изготовленные из легких материалов, чтобы было удобнее ими манипулировать.
Можно приобрести такие приспособления в заводском исполнении или изготовить мебельный кондуктор своими руками. Квалифицированные специалисты-мебельщики могут и не использовать кондуктор, чтобы качественно и точно просверлить отверстие в элементах мебельной конструкции, но для этого они должны обладать большим опытом работы в своей области.
Наиболее значимое преимущество кондуктора заключается в том, что с его помощью качественное и точное сверление как перпендикулярного к поверхности детали, так и наклонного отверстия может выполнить даже человек, не обладающий высокой квалификацией. Использование кондукторов исключает необходимость сложных предварительных расчетов и разметки мест расположения будущих отверстий, что снижает трудоемкость сборки мебельной конструкции и позволяет выполнить такую работу за более короткий промежуток времени. Даже начинающий специалист может разобраться в применении кондуктора для сверления под шканты и для решения других технологических задач.
Накладной кондуктор с револьверной головкой подходит для сверловки типовых отверстий под шканты любого размера
Прежде чем приобрести или изготовить свой самодельный кондуктор, определите, для решения каких задач необходимо его использовать, и на основе этих данных выберите его тип и конструктивное исполнение.
Среди кондукторов для сверления отверстий по типу конструкции и функциональным возможностям можно выделить целый ряд категорий.Накладные
Эти кондукторы называются так потому, что их накладывают на обрабатываемую деталь и закрепляют на ней либо просто фиксируют руками. Посредством кондукторов данного типа, в частности, выполняют сверление отверстий в ДСП, плитах МДФ и в других плоских деталях.
ПоворотныеТакие шаблоны можно использовать для того, чтобы выполнять отверстия на деталях цилиндрической формы. Кондукторы данного типа оснащаются вертикальными и горизонтальными осями поворота, что дает возможность выполнять с их помощью отверстия под различными углами.
УниверсальныеЭто приспособления, которые особенно актуальны для маленьких серийных производств, где важна возможность быстрой переналадки используемого оборудования. Кондуктор данного типа как раз и наделен такими функциями.
Этот универсальный кондуктор предназначен для засверливания отверстий под минификс, конфирмат, рафикс и дверную петлю
ОпрокидываемыеДанные приспособления для сверления отверстий требуются в тех случаях, когда такую технологическую операцию приходится выполнять в нескольких плоскостях.
Скользящий кондуктор в полном соответствии со своим названием не требует закрепления: его просто прикладывают к тому участку поверхности детали, где надо просверлить отверстие. Закрепляемые кондукторные устройства, хотя и являются более удобными, несколько ограничивают свободу действий специалиста, что особенно критично при выполнении сверлильных работ на станках, оснащенных только одним шпинделем.
Сферы использования
Мебельные кондукторы и шаблоны – это приспособления, без которых практически не обойтись при сборке мебельных конструкций. Использование кондукторов позволяет избежать основной проблемы, возникающей при сверлении отверстий, – вхождения сверла в обрабатываемую деталь не под тем углом. Исправление этой ошибки отнимает много времени и сил, и не всегда ее вообще можно исправить.
Кондуктор, используемый для сверления отверстий, не только позволяет правильно сориентировать сверло на месте выполнения обработки, но и не дает инструменту сбиться с заданной траектории.
Такие приспособления, как мебельные кондукторы и шаблоны, применяются и при производстве, и при сборке мебели, когда в соединяемых элементах надо выполнить отверстия для размещения крепежных элементов. В таких случаях часто используется кондуктор для шкантов или кондуктор для сверления под конфирмат, без которых выполнить качественные отверстия под крепеж не представляется возможным. Незаменимым такое приспособление является в тех случаях, когда требуется сделать отверстия, в том числе и под углом, в тонких плитах (в частности, при выполнении отверстий в ДСП или МДФ).
Кондуктор для косых отверстий незаменим при устройстве скрытых соединений панелей и досок
При использовании кондуктора для сверления отверстий процесс сборки мебели происходит просто и быстро. Применяя такое приспособление, сверление отверстий можно выполнять на любом удалении от края детали вне зависимости от ее ширины.
В современной мебели активно используются шканты, которые в то же время являются достаточно устаревшим крепежным элементом. Именно поэтому кондуктор для шкантов (doweling jig) применяется в производстве мебельных конструкций. Основная сложность при использовании таких крепежных элементов заключается в том, чтобы оси отверстий, выполняемых в соединяемых деталях, имели между собой прямой угол. Соответственно, располагаться такие отверстия должны строго перпендикулярно друг к другу. Без применения такого приспособления, как кондуктор для шкантов, выполнить их затруднительно.
Кондуктор для выполнения отверстий в трубках будет весьма полезным приспособлением для домашней мастерской
Мебельное производство – не единственная сфера, в которой используются кондукторы, предназначенные для сверления отверстий. Шаблоны не менее часто применяют и для того, чтобы просверлить отверстие в трубе и других деталях, имеющих цилиндрическую форму. Кондукторы позволяют выполнять качественные отверстия даже в трубах небольшого диаметра.
Размер и принцип работы современных кондукторов могут быть различными. Некоторые из моделей таких устройств намного легче купить, а отдельные несложно изготовить своими руками. В пользу того, чтобы изготовить мебельный кондуктор для сверления отверстий своими руками, говорит и тот факт, что серийные устройства, особенно универсального назначения, стоят недешево.
Самодельные кондукторные устройства
Кондукторы простейшей конструкции, например, те, которые используются для сверления отверстий под конфирмат, стоят относительно недорого, поэтому многие мастера не озадачиваются их самостоятельным изготовлением и приобретают серийные модели. Между тем есть и те, кто даже такие простые устройства старается сделать своими руками. Вопрос о том, как сделать кондуктор для сверления своими руками, часто появляется и при необходимости просверлить нестандартные отверстия.
Чтобы самостоятельно изготовить кондуктор для шкантов или более простой по конструкции кондуктор для конфирматов, можно воспользоваться чертежами и видео в интернете.
При изготовлении кондуктора потребуется идеально точное сверление направляющих отверстий и закалка готового приспособления
Для изготовления такого устройства, естественно, потребуется его чертеж. Нужен также минимальный набор инструментов и оборудования:
- электрическая или ручная дрель;
- набор слесарных инструментов;
- болгарка;
- сварочный аппарат (для изготовления кондукторных приспособлений более сложной конструкции).
Простейший самодельный кондуктор можно изготовить из подручных средств и материалов, которые в избытке имеются в большинстве домашних мастерских или гаражей. Использование таких материалов, к которым относятся куски металлической арматуры, деревянные бруски, металлические пластины и др., позволяет значительно сэкономить на приобретении серийной модели устройства.
Чертеж самодельного кондуктора для высверливания отверстий под конфирматы
Изготовление самодельного кондуктора для дрели или одношпиндельного станка проходит в несколько этапов.
- Квадратную арматуру сечением 10 на 10 мм, используя ножовку по металлу или болгарку, необходимо нарезать на отрезки требуемой длины.
- Центры отверстий, через которые будет выполняться сверление, должны находиться на расстоянии 8 мм от края кондукторной плиты. Именно на таком расстоянии расположен центр плиты ДСП или МДФ, в которой сверлят отверстие.
- Шаг между отверстиями на кондукторе в соответствии с общепринятыми мебельными стандартами составляет 32 мм, при этом диаметр таких отверстий должен быть равен 5 мм.
- Если оснастить самодельный кондуктор упором, то использовать такое приспособление будет значительно удобнее. Для создания такого упора нужна металлическая пластина толщиной 1 мм и шириной 25 мм, которую сгибают под прямым углом и фиксируют на уже готовом кондукторном приспособлении, изготовленном из арматуры.

- После того как конструктивные элементы самодельного кондуктора зафиксированы при помощи струбцины, их необходимо надежно соединить между собой, используя для этого резьбовые крепежные элементы.
Готовый кондуктор с поворотными упорами
Чтобы минимизировать количество пыли, образующейся при использовании самодельного кондуктора, его конструкцию можно дополнить половинкой пластиковой бутылки. Такое простейшее приспособление может выступать и в качестве поддона, в котором будет собираться образующаяся в процессе сверления стружка.
Описанный выше метод позволяет изготовить простейший самодельный кондуктор, который значительно облегчает и ускоряет процесс сборки любой мебельной конструкции.
Оценка статьи:
Загрузка…Поделиться с друзьями:
Кондуктор для сверления отверстий под конфирмат.
Делаем своими руками кондуктор для сверления отверстийЕсли вы хотя бы раз делали мебель своими руками, то знаете, что большинство деталей соединяется встык при помощи шкантов. Для того чтобы точно и правильно сделать отверстия для шкантов, надо просто взять кондуктор для сверления отверстий.
На больших мебельных предприятиях для сверления таких отверстий используются специальные станки. Некоторые мастера в домашних условиях или на небольших предприятиях, сначала сверлят отверстия в торце одной детали, затем вставляют в них специальные метчики в виде конуса.
После этого прикладывают вторую деталь, отмечают места на ней, места для отверстий, после чего выполняют их сверление. Хотя при использовании данного метода и можно сделать отверстия, но точно повторить чертеж и добиться соосности вам вряд ли удастся, к тому же этот метод очень медленный и трудоемкий.
Если у вас есть чертеж мебели, вы его хотите повторить с максимальной точностью и обеспечить качественное крепление всех деталей мебели, а приобрести дорогостоящее оборудование не можете, выходом из положения будет приспособление для сверления.
Кондуктор представляет собой приспособление, что имеет вид планки с отверстиями и гильзами. Для выполнения отверстий,кондуктор при помощи зажимов крепится к детали, после чего в гильзу вставляется сверло и делают отверстие. Для одной и другой детали, что соединяются между собой, используется один и тот же кондуктор, то все получается правильно и соосно.
Основные преимущества, что имеет указанное приспособление:
- точность сверления
- они получаются перпендикулярными, так как используется гильза
- простота и быстрота выполнения работ.
Кондуктор может применяться не только в мебельной промышленности, он может применяться и в машиностроении, может быть объемным или накладным. Могут использоваться они и для сверления отверстий смешанного типа, все они позволяют точно повторить чертеж и соблюсти все указанные на нем размеры.
Может быть использован кондуктор и в легкой промышленности или в строительстве, в данном случае используют накладные модели из дерева, листового металла или оргстекла.
Очень трудно просверлить трубу или заготовку цилиндрической формы, так как сверло постоянно соскальзывает. Если использовать данное приспособление, то процесс значительно упрощается и ускоряется и выполнить работу несложно.
Особенно актуально использовать данное приспособление, если необходимо просверлить отверстие в заготовке цилиндрической формы и небольшого диаметра.
Также такое приспособление позволяет выполнять перпендикулярные отверстия, которые без его применения сделать очень сложно.
Разновидности
Существуют разные виды таких приспособлений, они могут использоваться как при сверлении, так и при проведении фрезерования, а также при выполнении точения, обрубки, сборки деталей. Существуют накладные, поворотные, опрокидывающиеся и скользящие модели.
Накладной кондуктор прикладывают к заготовке, они могут лежать свободно или крепиться зажимами, таким способом обычно выполняют сверление отверстий.
Поворотное приспособление применяют для того, чтобы работать с цилиндрическими заготовками.
Они могут иметь вертикальную, горизонтальную и поворотную ось. Для мелкого производства, надо использовать универсальные приспособления, которые легко переналаживать. Опрокидываемый кондуктор применяют, если необходимо сверлить в разных плоскостях.
Скользящие кондукторы не крепят к станку, а выставляются под каждый диаметр отдельно. Они менее производительны и обычно используются, если работа выполняется на одношпиндельном станке и надо сделать на детали несколько разных диаметров, для этого направляющие втулки выполнены на откидных планках.
Как сделать самостоятельно?
Такое приспособление можно сделать и своими руками, для этого надо найти нужный вам чертеж и все выполнить согласно ему. Для работы вам понадобится:
- дрель;
- болгарка;
- сварочный аппарат;
- слесарные инструменты.
Чтобы сделать самое простое приспособление, надо взять арматуру квадратного сечения размером 10х10мм. После этого отрезают необходимо длины кусок и зачищают его при помощи наждачной бумаги.
Теперь необходимо выполнить разметку для шаблонных отверстий.
Нельзя, чтобы центр был ближе к краю, чем на 8мм, это равно половине толщины листа ДСП. Существующие стандарты предусматривают, чтобы между центрами было 32 мм.
После того как размечены центры, в них делают отверстия диаметром 5мм. Для изготовления упора используется металлическая пластина шириной 2,5 мм, ее толщина должна составлять 1 мм. Она сгибается под углом 90 градусов и вместе с куском заготовленной арматуры, после закрепления их в струбцине, делают место под резьбу.
Теперь осталось нарезать резьбу и соединить две детали в одну конструкцию. С его помощью вы можете выполнять работу и не бояться за то, что выступите за край листа.
Сделать такое приспособление несложно, но оно намного проще делает работу сборщиков мебели или тех людей, что ее создают. Если у вас нет желания заниматься созданием этого приспособления самостоятельно, его можно приобрести уже в готовом виде.
Если вам нужен кондуктор для выполнения работ по изготовлению мебели в домашних условиях, то подойдет самый простой и его стоимость будет незначительной. Профессиональное же оборудование будет иметь достаточно высокую стоимость.
В любом случае, приобретете вы кондуктор или сделаете его самостоятельно, это приспособление поможет вам проще и быстрее соединять детали мебели или выполнять ее ремонт.
При работе с ручной дрелью, иногда бывает сложно выдержать заданное направление отверстия. Также кондукторы применяются, если необходимо выполнить ряд аналогичных дырок по шаблону. Например, при столярных работах. В этом случае мастер не тратит время на разметку дерева, и гарантировано получает одинаковый результат.
Кондуктор незаменим при сверлении дыр в трубах. Но основное применение – проход отверстий под заданным углом.
Рассмотрим различные варианты этого полезного приспособления:
Кондуктор для перпендикулярного сверления отверстий
Простой мебельный кондуктор для сверления отверстий при сборке мебели из металла.
Подробности в видео материале
Назначение – получение проходов в толстых заготовках, строго под углом 90°. Представляет собой набор втулок в едином корпусе, или кронштейн со сменными рабочими насадками.
Установив приспособление над точкой сверления, можно начинать работу без предварительного накернивания. Сверло точно попадает в центр втулки и не отклоняется от оси.
Важно! Единственная проблема – инструмент необходимо удерживать на заготовке, особенно в начале работы. Иначе от вибрации он может сместиться.
Такой кондуктор для сверления можно сделать своими руками. Используется толстый текстолит или твердое дерево. Идеальный вариант – применение втулок от экструдера для протяжки проволоки. Изношенные втулки можно найти на заводе.
Насадки для экструдера выполнены из легированной стали, с добавлением победита. Срок службы практически неисчерпаем.
Кондуктор для цилиндрических заготовок или труб
Сделать отверстие в покатой поверхности практически невозможно.
Особенно тяжело начать процесс – кончик сверла соскакивает с заданной точки. Приспособление зафиксирует направление, и позволит выполнить работу с высокой точностью.
Регулируя длину фиксирующих болтов, можно просверлить отверстие по касательной в отношении центра. Если под рукой нет подобного инструмента, его можно изготовить из подручных материалов. Например, из бруска твердого дерева и полоски фанеры.
Чтобы направляющие не так быстро разбивались острыми кромками сверла, их можно усилить гильзами из трубок разного диаметра.
При изготовлении корпусной мебели, возникает необходимость иметь возможность точно и быстро производить засверливание в торец деталей. Как правило, эта необходимость обусловлена использованием евровинтов (конфирматов), при которых в торец деталей сверлятся отверстия диаметров 4,5-5,0 мм (зависит от плотности плиты) на глубину от 35-55мм (зависит от длины евровинтов).
Конечно, для таких целей существуют специальные сверлильно-присадочные станки, но они малодоступны частным мебельщикам или небольшим организациям по причине своей высокой цены, плюс к этому, станки не удобны по причине исключительно стационарного использования.
Для упрощения работы мебельщика, были придуманы кондукторы — небольшие приспособления для точного сверления обычной ручной электродрелью. Сегодня на рынке существует несколько производителей, заплатив не малую цену, можно купить готовый кондуктор. В этой статье пойдет речь о том, как из подручного и легкодоступного материала за пару часов можно изготовить хороший самодельный кондуктор.
В качестве направляющих сверло втулок, используем шариковые подшипники. Подшипники изготовлены из прочной стали, будут служить долго. Для того, чтобы сверло было хорошо сориентировано в кондукторе, для каждого рабочего расстояния применяются по два подшипника (подшипники расположены соосно другой под другом).
Для изготовления кондуктора (на три рабочих фиксированных расстояния) нам понадобится:
- Кусочек плиты МДФ толщиной 16мм.
- Кусочек плиты МДФ толщиной 10мм.
- Шесть штук (по паре для каждого рабочего расстояния) любых шарикоподшипников с внутренним диаметром 5,0 мм, внешним диаметром не более 16 мм.
Высота подшипника должна быть, по возможности, как можно меньше и не более 8мм. - Десяток саморезов 4×25 мм.
- Клей ПВА, «Суперклей».
- Футорка мебельная с внутренней резьбой M6 (см. фото).
- Винт M6x50. Гайка M6. Шайба Гровера 6мм.
Для начала, необходимо изготовить сам корпус. Особо что-то пояснять по корпусу нет необходимости, все элементарно. Поперечное сечение корпуса — буква «П» с одной торцевой (закрытой) стенкой. Эта стенка будет использоваться в качестве упора, будет задавать нулевую точку, точку начала отсчета для сверления. При выполнении сверления, упор прижимается к торцу детали. Основные размеры:
- Внешний размер кондуктора произвольный.
- Верхняя деталь, в которую будут посажены подшипники, выполнена из МДФ 16мм, остальные детали — МДФ 10мм.
- Расстояние между двумя боковинами (где будет размещена обрабатываемая деталь) равно
16,5 мм, что соответствует реальной толщине плиты плюс небольшой зазор для удобства установки и съема кондуктора.

- Расстояния между центрами подшипников и упором: 50, 70, 100 мм, — самые распространенные в мебельной практике.
Для сборки корпуса необходимо точно вырезать все четыре детали (верх, две боковых и одну торцевую), измерения рекомендуется выполнять штангенциркулем. Далее, размечаются и сверлятся отверстия для саморезов, которые будут скреплять все детали воедино. Сборка корпуса выполняется с клеем ПВА.
Расстояние между боковыми стенками кондукторасоставляет 16,5 мм (для ЛДСП номинальной толщины 16 мм).
После высыхания клея, приступаем к разметке и кернению отверстий для подшипников. Стараемся очень точно выполнить эту операцию! Для сверления отверстий под подшипники нам понадобится или дрель, закрепленная в стойке. Выполнить точное сверление от руки очень сложно, но, при определенной сноровке, возможно. Размечаем карандашом центры подшипников, керним. По кернению сверлим три сквозных отверстия диаметром 2 мм.
Зажимаем в сверлильный патрон перовое сверло (пёрку), диаметр пёрки должен равняться внешнему диаметру подшипников. Сверлим по два глухих (несквозных) отверстия для каждого подшипника с каждой стороны просверленного ранее сквозного отверстия. Глубина сверления пёркой (глубина проникновения центрального шипа не учитывается) должна быть примерно на 1 мм больше высоты подшипника. В результате, мы должны получить шесть посадочных отверстий (по три с каждой стороны) для подшипников. Можно попробовать вставить подшипники в посадочные места, подшипники должны входить свободно, но без заметного люфта. После примерок, нужно смазать снаружи каждый подшипник клеем и посадить до упора на свое место. Если используется «Суперклей» (он быстро впитывается и высыхает), то эта операция выполняется с применением резиновой киянки.
Кондуктор сверху. Расстояния между центрами подшипников и упором.
Для возможности выполнять сверление на любых произвольных расстояния от упора (не только 50, 70, 100 мм), необходимо дополнить кондуктор несложным регулируемым упором — длинным винтом.
Сверлим по центру торцевого упора сквозное отверстие диаметром на 0,5 мм меньше внешнего диаметра мебельной футорки (см. фото). Вкручиваем футорку. В футорку вкручиваем длинный винт, не забыв предварительно накрутить на винт гайку и надеть шайбу Гровера. Теперь, путем изменения глубины вкручивания винта, можно задать любое расстояние сверления от 0 до 100 мм.
Мебельная футорка. Для вкручивания футорки в корпус кондуктора понадобится шестигранный ключ.
Регулировочный винт кондуктора вкручивается в мебельную футорку.
Кондуктор. Вид сбоку.
Кондуктор. Вид изнутри.
Сверление отверстия в торце ЛДСП с применением самодельного кондуктора.
Вылет сверла. На такую максимальную глубину можно выполнить сверление.
Длина применяемого сверла и глубина его крепления в патроне дрели должны выбираться с учетом толщины кондуктора (то есть, без малого, суммарной высоты двух подшипников).
При желании, поверхность кондуктора можно отшлифовать мелкой наждачной бумагой, загрунтовать и покрасить (например, эмалью из баллончика).
Практика показала, что точность сверления с кондуктором получается не хуже +/-0,5мм и во многом зависит от того, насколько реальная толщина делали (плиты
ЛДСП ) отличается от расчетной толщины. В любом случае, погрешность максимум в полмиллиметра не является критичной для сверления в торец при изготовлении корпусной мебели.
Сверлильный кондуктор — непременный атрибут на крупном производстве, неважно на каком. Там, где много сверлят, он действительно необходим, особенно когда производство серийное или массовое.
С помощью кондуктора в значительной степени ускоряется производство , облегчается труд рабочего.
Сверлильный кондуктор, как правило, представляет собой планку (пластину) с отверстиями и втулками (гильзами). Посредством кондуктора значительно проще, например, сверлить трубы.
Что касается производства мебели, то здесь они тоже применяются, хотя и относительно недавно .
С помощью такой оснастки производитель избавлен от следующих проблем:
- Разметка.

- Кернение (точечные углубления в материале под сверло).
- Сверловка с соблюдением перпендикулярности.
Последнее особенно сложно выполнимо, поскольку требует серьёзных навыков , обретаемых только с годами.
Некоторые операции, например, сверловка под шканты (короткие деревянные стержни, предназначенные для скрытой стыковки деталей), требует очень точной разметки, и не менее точной сверловки под углом 90°.
С таким приспособлением, как кондуктор, эти задачи решаются легко и просто.
Виды: выбираем нужный
Накладные . Они не нуждаются в фиксации перед их использованием по назначению. Конструктивно простые, мобильные, но их нужно держать свободной от дрели рукой, поскольку зачастую оснастка не закреплена в специальном устройстве, что не очень удобно. Учитывая простоту конструкции сделать его своими руками довольно просто. Применяется при сверлении ДСП и МДФ.
Кондукторы для сверления отверстий под углом .
Конструкцию легко представить, поскольку название говорит само за себя. Такая оснастка может быть и накладной. В производстве качественной мебели присутствует и сверление под углом, что представляет не самую простую операцию в производственном процессе — для этого нужен навык. Хотя и в этом случае иногда нарушается нужный угол, сборка в результате не будет уже такой качественной и страдает внешний вид мебели, особенно если она не из ДСП, а из дерева — здесь уж некрасивую сверловку не зашпатлюешь. Оснастка же нужной конструкции полностью избавляет от ненужных проблем.
Поворотные кондукторы . В них имеются откидные кронштейны, и это позволяет произвести сверление на двух смежных плоскостях.
Скользящие редукторы . С их помощью без переустановок можно просверлить несколько отверстий. Для работы с такой оснасткой всё же требуются необходимые навыки.
Приспособление для сверления отверстий под шканты и конфирматы
Несмотря на то что на сегодняшний день в мебельной промышленности появилось много новой фурнитуры, старый добрый шкант применяется до сих пор.
Это объясняется тем, что посредством этого предмета фурнитуры не видны соединения, и это особенно ценно в производстве мебели из натурального дерева.
Как уже говорилось, сверление под шканты создаёт немало проблем мебельщикам, особенно недостаточно квалифицированным.
Для того чтобы мебельные плоскости были идеально состыкованы, необходима точная разметка, а эта оснастка позволяет ускорить работу и довести качество таковой до нужного уровня.
Работа с конфирматами — специальными мебельными винтами — хоть и менее хлопотная, но тоже требует определённых навыков. А учитывая то, сколько нужно разметить и просверлить отверстий, перед тем, как закрутить конфирмат в одном мебельном изделии, такое приспособление в значительной степени ускорит работу, да и её качество тоже.
Простейшие устройства
- Кондуктор двухползунковый. Он позволяет сверлить отверстия в двух смежных (сопрягаемых) деталях. Приспособление сконструировано из двух линеек, которые служат направляющими и соединены с крепёжной планкой.
Отверстия, выполненные в ней, дают возможность для установления планки на деталях разной ширины. Перемещаемые по линейкам корпуса (сменные) имеют набор направляющих втулок, где расстояния между ними разные. Кондуктор фиксируется посредством соединительной планки, с противоположной стороны же имеется ограничитель хода, поджимаемый винтом-барашком. - Кондуктор многопозиционный. Крепится струбцинами. Конструкция позволяет производить вертикальное сверление. Изготовлен он из толстостенного алюминиевого уголка. Поскольку приспособление имеет значительную длину, оно оснащено промежуточным креплением в центре конструкции. Очень удачно применена толстая стенка уголка, что нельзя переоценить в момент накладки приспособления на поверхность детали и при переустановки кондуктора на 90°. Подбор расстояния между втулками осуществляется по самым распространённым величинам, предусмотренным для установки шкантов или конфирматов.
Порядок работы с кондуктором:
- Приспособление фиксируют на обрабатываемой детали.

- Гильзу вставляют в отверстие.
- Сверлят через гильзу.
Мебельный кондуктор своими руками: чертежи с размерами в помощь
Принцип этой оснастки:
- Корпус углового типа. Накладывается на плоскости деталей, которые потом будут соединяться между собой.
- Втулки направляющие. Через них будет входить сверло.
- Зажимные устройства. Они фиксируют кондуктор и выполнены с торцевой части.
Проектирование собственного кондуктора должно основываться на том, чтобы с помощью этой оснастки можно было делать большую часть выполняемых работ, связанных с крепежами различных типов.
Важно! Коль нужен универсальный помощник — это касается профессиональных мебельщиков, то лучше будет приобрести промышленную оснастку, которая сделана более точно и качественно. Именно такое приспособление будет предпочтительным и быстро себя окупит, особенно, если ещё учесть и то, что к этому устройству зачастую прилагается немало различных шаблонов, упоров и других мелочей, которые также необходимы в работе.
Обходятся они гораздо дешевле, чем при покупке в розницу.
И всё же это приспособление, по необходимости, можно сделать своими руками.
Такая оснастка, возможно, нужна не так уж и часто в том или ином производстве, а уж домашнему мастеру — тем более. Так что многим пользователям сделать её самому будет значительно выгоднее.
Если же проектирование таковой остаётся актуальным, то нужно подготовить материалы для изготовления самодельного кондуктора для сверления под конфирмат:
- Уголок . Свой выбор следует остановить на неравнополочном виде этого проката — его возможности более широки. Полку уголка надо выбирать наибольшей толщины, которая может доходить до 8 мм. Это вполне обосновано, поскольку тогда можно вставлять направляющие втулки, наружный диаметр которых достигает 6 мм. Исходя из этого, можно использовать свёрла от 3,5 до 4 мм. Если даже того диаметра и будет недостаточно, то материал рассверливают большим сверлом, не используя уже никаких других приспособлений.

- Направляющие втулки . Здесь будут предпочтительнее трубы из нержавеющей стали, которые подбираются, прежде всего, по внутреннему диаметру. Пример: труба 6×1,5 подходит для сверла не более 2,7 диаметром. Разъяснение: внутреннее отверстие её будет 3 мм, а небольшой зазор по всему внутреннему диаметру учитывается из-за термического расширения материала. Длина втулки — это глубина отверстия в уголке, умноженная на два и более. Посадка втулок либо переходная, либо с натягом, либо по системе вала. Последняя является наиболее целесообразной.
Вместо труб, конечно, можно использовать готовые втулки, применяемые в аппаратах по протяжке проволок — таковые имеются, например, в машиностроении. Такие детали (даже бывшие в употреблении), подойдут как нельзя кстати: они выполнены из легированных сталей и имеют практически неограниченный ресурс работы.
Выбор способа крепления
Варианты:
- Фиксация при помощи саморезов . Они вкручиваются в деталь, что не допускает смещения приспособления из-за силы трения.
Это удобно тем, что эти отметки понадобятся для последующего сверления других отверстий. - Упор пружинный . Он будет надёжно фиксировать кондуктор на детали. Для такого упора подойдёт плоская пружина с соответствующей силой прижима.
- Струбцины внешние . Под них необходимо подкладывать резиновые прокладки. В качестве материала идеально подойдёт рифлёная резина. Это, конечно, немного увеличивает вес оснастки, а эластичность подкладок может негативно повлиять на перпендикулярность втулок. Чтобы этого не произошло, сверло заводят во втулку с целью разметки отверстия, а уж потом зажимаются струбцины.
Для сверловки труб и деталей цилиндрической формы
В современной мебели используются не только ДСП, ДВП, МДФ и дерево. В качестве дополнительных элементов могут применяться стальные трубы различного диаметра. Покрытые хромом или из нержавеющей стали, они отлично дополняют общий мебельный ансамбль.
Очень сложно просверлить сферическую поверхность — сверло так и норовит соскользнуть в сторону.
Да и разметить не так-то просто, когда отверстий много и они располагаются в несколько рядов.
Для того чтобы из трубы не получился пресловутый дуршлаг, а правильная деталь с точно выполненными отверстиями, понадобится кондуктор — это идеальное решение в создавшейся ситуации.
Есть кондукторы стальные, выполненные в виде регулируемой струбцины. Эта особенность конструкции позволяет зажимать в них трубы разного диаметра и сверлить в них отверстия с высокой точностью.
Не имея возможности изготовить такое приспособление, можно использовать бросовые материалы, сделав ещё более простое устройство, используя брусок и полоску фанеры. Так, брусок, разрезанный вдоль по диагонали на циркулярной пиле, можно прибить гвоздями или прикрутить саморезами под углом в 90° к фанере. Полученное устройство накладывается сверху на трубу, а полоска фанеры, упираясь в стол или верстак, не даёт нарушиться заданному углу. Заблаговременно просверлённые в бруске отверстия нужного диаметра размещены с учётом необходимых расстояний между будущими отверстиями, что позволит быстро и точно просверлить трубу точно по чертежам.
Мебельные кондукторы и шаблоны своими руками
Как делаются кондукторы, теперь понятно, равно как и их необходимость для производства мебели.
Не только кондукторы, но и шаблоны необходимы в мебельном производстве. Простейший шаблон, порой сэкономит массу времени и даст возможность не менее точной сверловки, чем кондуктор.
Например, простейший металлический сборный накладной шаблон, состоящий из двух листовых заготовок размером 130×70 мм и стального квадрата сечением в 20 мм. Они соединены между собой винтами в верхней части конструкции — так прикреплены к квадрату. Квадрат просверлён под втулки, куда последние и запрессованы. Такое приспособление для сверления отверстий в торце детали, выполненной из ДСП, даст возможность сверлить, совершенно не задумываясь о разметке и перпендикулярном сверлении. А уж цена этой оснастки ниже всякого представления об экономии.
Вместо металла можно и нужно использовать те материалы, которые стоят недорого и легко обрабатываются.
Материалы:
- Фанера.
- Текстолит или стеклотекстолит — желательно толстый.
- Дерево твёрдых пород.
- Оргалит или его аналог.
Нужно иметь в виду, что эти материалы недолговечны, и для того, чтобы приспособления не приходилась делать каждый день, вполне резонно впрессовывать в них металлические трубки.
В заключение стоит подвести итоги сказанному. Делать кондуктор или шаблон самому или же купить его в магазине — это дело каждого в отдельности. Если домашнему мастеру надо сделать какую-нибудь мебель в единственном экземпляре и есть материал для кондуктора, а также и возможность его изготовления — можно воспользоваться этим. Возможно, что подобная оснастка мастеру больше никогда и не пригодится.
А вот если даже небольшая мебельная мастерская занимается производством серийной мебели, и в ней работает достаточно людей — проще, вероятно, приобрести что-то готовое, тем более, что эти незаменимые помощники мастеров понадобятся им в нескольких экземплярах.
В последнем случае имеет смысл приобретение более дорогих, точных и износостойких кондукторов вместо изготовления кустарных, которые менее точны и долговечны.
Успехов вам в работе!
Основным крепежным элементом в сборке мебели является конфирмат. Ввинчивается он с предварительным сверлением отверстия. Именно сверление сборочных отверстий в ДСП под конфирматы мы и рассмотрим в данной статье.
Для сборки деталей ДСП нам понадобится:
- Шуруповерт
- Бита под конфирматы
- Линейка или рулетка
- Карандаш и шило
Глубина и ширина отверстия
При обычно используют конфирмат размером 6,4*50. Т.к. диаметр резьбы 6,4 мм, а диаметр тела конфирмата 4,4 мм, то для качественного крепления деталей диаметр отверстия должен быть в пределах 4,5-5 мм и глубиной не менее 50 мм.
Если толщина отверстия будет больше указанной – конфирмат будет плохо держать детали, если меньше – он своей толщиной может разорвать ДСП.
Для сверления используют конфирматное сверло, диаметром 4,5 мм, которое оснащено дополнительной головкой для сверления увеличенного отверстия под шейку конфирмата, которая так же делает зенковку под его шляпку.
Конечно, можно использовать и обычное сверло диаметром 5 мм, но для качественного крепления в отверстии дополнительно нужно будет делать место под шейку конфирмата и его шляпку.
Чтобы идеально скрепить две детали, необходимо максимально точно разметить места их креплений.
На детали, которая будет накладываться на торец (та, на которой будет сквозное отверстие), нужно сделать два замера – по длине (обычно 5-10 см) и от края – ровно 8 мм (это если толщина плиты 16 мм).
На детали, которая ложится перпендикулярно, точку сверления отмечаем на торце. Здесь нужно выдержать такое же расстояние по длине (5-10 см от начала), а по ширине – строго по центру (8 мм от края).
Разметку делать нужно максимально точно, особенно по длине, т.к. при неправильной разметке ваши детали при стыковании могут иметь лишние зазоры или выступы.
Лучше сделать сквозное отверстие в первой детали, приложить ее ко второй — и сразу же сверлом наметить место сверления в торце второй детали.
А далее, отдельно уже, спокойно досверлить отверстие.
Делаем отверстие на расстоянии в 8 мм от края.
Дрель ВСЕГДА нужно держать строго перпендикулярно к поверхности
Перед тем, как сделать сквозное отверстие, подложите под деталь кусок ненужного ДСП. Так вы предотвратите появления сколов на обратной стороне.
Когда сквозное отверстие будет сделано, для сверления отверстий под шейку и шляпку конфирмата деталь можно будет сверлить на весу.
Главное правило – при сверлении в торце сверло должно находится строго перпендикулярно по отношению к торцу детали. Если вы не удержите дрель ровно, сверло может уйти в сторону и выйти наружу, тем самым испортив деталь.
При сверлении нужно несколько раз вытягивать сверло, чтобы в отверстии не забивалась стружка.
Такой вариант считается самым точным и, к тому же, самым быстрым. Но для того, чтобы сделать отверстие в двух деталях одновременно, перед сверлением вам нужно будет их зафиксировать.
Для этого могут понадобиться специальные зажимы, струбцины и другие приспособления.
Приспособления для сверления отверстий
Чтобы каждый раз не размечать 8 мм от края как в пласт, так и по торцу, можно использовать специальное приспособление, которое, кстати, легко сделать самому.
Оно представляет собой некий деревянный шаблон с металлической втулкой для сверла внутри.
Выглядит вот так, смотрите фото:
А это уже более профессиональная штука:
Смотрите короткое видео по точному сверлению отверстий в ДСП под конфирматы и сборке мебельных деталей:
Сверление под шканты
Отверстие под шканты делается сверлом 8 мм. Также, чтобы не просверлить деталь насквозь, его желательно оснастить ограничителем глубины.
В торце сверлим тем же сверлом на глубину до 20 мм. Не забываем, что при любых работах дрель должна быть строго перпендикулярна плоскости детали.
Конечно, если вы впервые в жизни взяли дрель в руки, у вас получится не очень.
Но данному занятию довольно быстро можно научиться.
Кондуктор для сверления в торец
При изготовлении корпусной мебели, возникает необходимость иметь возможность точно и быстро производить засверливание в торец деталей. Как правило, эта необходимость обусловлена использованием евровинтов (конфирматов), при которых в торец деталей сверлятся отверстия диаметров 4,5-5,0 мм (зависит от плотности плиты) на глубину от 35-55мм (зависит от длины евровинтов).
Конечно, для таких целей существуют специальные сверлильно-присадочные станки, но они малодоступны частным мебельщикам или небольшим организациям по причине своей высокой цены, плюс к этому, станки не удобны по причине исключительно стационарного использования. Для упрощения работы мебельщика, были придуманы кондукторы – небольшие приспособления для точного сверления обычной ручной электродрелью. Сегодня на рынке существует несколько производителей, заплатив не малую цену, можно купить готовый кондуктор.
В этой статье пойдет речь о том, как из подручного и легкодоступного материала за пару часов можно изготовить хороший самодельный кондуктор. В качестве направляющих сверло втулок, используем шариковые подшипники. Подшипники изготовлены из прочной стали, будут служить долго. Для того, чтобы сверло было хорошо сориентировано в кондукторе, для каждого рабочего расстояния применяются по два подшипника (подшипники расположены соосно другой под другом).
Для изготовления кондуктора (на три рабочих фиксированных расстояния) нам понадобится:
- Кусочек плиты МДФ толщиной 16мм.
- Кусочек плиты МДФ толщиной 10мм.
- Шесть штук (по паре для каждого рабочего расстояния) любых шарикоподшипников с внутренним диаметром 5,0 мм, внешним диаметром не более 16 мм. Высота подшипника должна быть, по возможности, как можно меньше и не более 8мм.
- Десяток саморезов 4×25 мм.
-
Клей ПВА, «Суперклей».

- Футорка мебельная с внутренней резьбой M6 (см. фото).
-
Винт M6x50. Гайка M6. Шайба Гровера 6мм.
Изготовление корпуса кондуктора.
Для начала, необходимо изготовить сам корпус. Особо что-то пояснять по корпусу нет необходимости, все элементарно. Поперечное сечение корпуса – буква «П» с одной торцевой (закрытой) стенкой. Эта стенка будет использоваться в качестве упора, будет задавать нулевую точку, точку начала отсчета для сверления. При выполнении сверления, упор прижимается к торцу детали. Основные размеры:
- Внешний размер кондуктора произвольный.
- Верхняя деталь, в которую будут посажены подшипники, выполнена из МДФ 16мм, остальные детали — МДФ 10мм.
-
Расстояние между двумя боковинами (где будет размещена обрабатываемая деталь) равно 16,5 мм, что соответствует реальной толщине плиты плюс небольшой зазор для удобства установки и съема кондуктора.

- Расстояния между центрами подшипников и упором: 50, 70, 100 мм, — самые распространенные в мебельной практике.
Для сборки корпуса необходимо точно вырезать все четыре детали (верх, две боковых и одну торцевую), измерения рекомендуется выполнять штангенциркулем. Далее, размечаются и сверлятся отверстия для саморезов, которые будут скреплять все детали воедино. Сборка корпуса выполняется с клеем ПВА.
Расстояние между боковыми стенками кондукторасоставляет 16,5 мм (для ЛДСП номинальной толщины 16 мм).
Посадка подшипников.
После высыхания клея, приступаем к разметке и кернению отверстий для подшипников. Стараемся очень точно выполнить эту операцию! Для сверления отверстий под подшипники нам понадобится сверлильный станок или дрель, закрепленная в стойке. Выполнить точное сверление от руки очень сложно, но, при определенной сноровке, возможно. Размечаем карандашом центры подшипников, керним.
По кернению сверлим три сквозных отверстия диаметром 2 мм. Зажимаем в сверлильный патрон перовое сверло (пёрку), диаметр пёрки должен равняться внешнему диаметру подшипников. Сверлим по два глухих (несквозных) отверстия для каждого подшипника с каждой стороны просверленного ранее сквозного отверстия. Глубина сверления пёркой (глубина проникновения центрального шипа не учитывается) должна быть примерно на 1 мм больше высоты подшипника. В результате, мы должны получить шесть посадочных отверстий (по три с каждой стороны) для подшипников. Можно попробовать вставить подшипники в посадочные места, подшипники должны входить свободно, но без заметного люфта. После примерок, нужно смазать снаружи каждый подшипник клеем и посадить до упора на свое место. Если используется «Суперклей» (он быстро впитывается и высыхает), то эта операция выполняется с применением резиновой киянки.
Кондуктор сверху. Расстояния между центрами подшипников и упором.
Изготовление регулируемого упора.
Для возможности выполнять сверление на любых произвольных расстояния от упора (не только 50, 70, 100 мм), необходимо дополнить кондуктор несложным регулируемым упором — длинным винтом. Сверлим по центру торцевого упора сквозное отверстие диаметром на 0,5 мм меньше внешнего диаметра мебельной футорки (см. фото). Вкручиваем футорку. В футорку вкручиваем длинный винт, не забыв предварительно накрутить на винт гайку и надеть шайбу Гровера. Теперь, путем изменения глубины вкручивания винта, можно задать любое расстояние сверления от 0 до 100 мм.
Мебельная футорка. Для вкручивания футорки в корпус кондуктора понадобится шестигранный ключ.
Регулировочный винт кондуктора вкручивается в мебельную футорку.
Кондуктор. Вид сбоку.
Кондуктор. Вид изнутри.
Сверление отверстия в торце ЛДСП с применением самодельного кондуктора.
Вылет сверла. На такую максимальную глубину можно выполнить сверление.
Длина применяемого сверла и глубина его крепления в патроне дрели должны выбираться с учетом толщины кондуктора (то есть, без малого, суммарной высоты двух подшипников).
При желании, поверхность кондуктора можно отшлифовать мелкой наждачной бумагой, загрунтовать и покрасить (например, эмалью из баллончика). Практика показала, что точность сверления с кондуктором получается не хуже +/-0,5мм и во многом зависит от того, насколько реальная толщина делали (плиты ЛДСП) отличается от расчетной толщины. В любом случае, погрешность максимум в полмиллиметра не является критичной для сверления в торец при изготовлении корпусной мебели.
Похожие статьи:
Кондуктор для сверления отверстий: особенности, виды, применение
Конструкционные особенности и виды кондукторов
Кондуктор для сверления фактически представляет собой шаблон отверстий, которые позволяют сделать их с максимальной точностью. Их можно разделить на два вида:
- когда ось сверления находится под прямым углом к поверхности материала;
- когда ось проходит под острым или тупым углом по отношению к плоскости.

Устройство кондуктора
Инструмент обладает такой универсальностью, что находит применение в разных сферах индустрии. Уже на протяжении нескольких десятилетий он очень активно применяется в машиностроительной, строительной отрасли. Ведь он позволяет не только высверливать отверстия в нужных заготовках под разным углом и превосходной точностью, имеющих разную конфигуративную особенность. С его помощью легко сверлятся отверстия в различных строительных конструкциях, а также трубах из любого материала и т. д. Кондуктор часто используется в мебельной индустрии, так как значительно упрощает процесс крепежа фурнитуры и самой сборки разных ее деталей. На самом деле, это лишь малый фронт задач, которые способен решить кондуктор.
Особенности конструкции кондуктора
По сути, кондуктор – это шаблон, чаще всего прямоугольной формы, с отверстиями, в которые вставлены так называемые гильзы, направляющие для сверления.
Для проделывания отверстий в детали мебельный кондуктор фиксируется на ее поверхности.
Затем, в выставленную на необходимом расстоянии гильзу, вводится фреза нужного диаметра и производится высверливание отверстия. Сами фрезы по дереву смотрите тут. Таким образом можно выполнять отверстия для сопряжения различных деталей как встык, так и перпендикулярно друг другу.
Применение этого приспособления дает целый ряд преимуществ:
- точность выполнения отверстия;
- сокращение затрат времени;
- упрощение операции сверления.
Такой шаблон можно приобрести в специализированном магазине или сделать самостоятельно.
Область применения кондуктора не ограничивается мебельным производством. Это приспособление также широко употребляется в строительстве и машиностроении. С его помощью можно сверлить отверстия не только на плоскости, а и в цилиндрических заготовках, например, трубах.
Классификация инструментов
По функционалу и конструктивному функционалу кондуктор для сверления делится на виды:
- накладные. Название исходит из их функционального способа работы, то есть он накладываются на заготовительную часть или обрабатываемую поверхность, крепятся к ней специальными зажимами или придерживается рукой.
Такой прибор применим для высверливания плоских поверхностей, например, досок, МДФ-плит и ДСП. Его так и называют мебельный кондуктор для сверления отверстий. Благодаря применению кондуктора, сами отверстия получается очень аккуратными и выверенными; - поворотные. Такие шаблоны прекрасно применяются для высверливания округлой или цилиндрической поверхности. Благодаря такой конструкции ось занимает горизонтальное, вертикальное и наклонное положение к поверхности. Это возможно благодаря втулкам, которые могут направлять линию сверления;
- универсальные. Подобной конструкции средства пользуются широкой популярностью в небольших промышленных производствах, где важную роль играет быстрая подстройка под существующую поверхность. В силу своей уникальности, они также востребованы в домашнем хозяйстве, когда приходится работать с разными материалами, плоскостями и поверхностями; опрокидываемые. По функционалу напоминают чем-то универсальные. Они необходимы, когда требуется сделать отверстие в разных плоскостях и под разным уклоном.
Это очень удобно для проведения каких-то ремонтных работ, когда требуется просверлить в стене отверстие без больших затрат по времени и под конкретным углом; - скользящие. Согласно своему названию, такой кондуктор не обязательно крепить к той поверхности, куда его предполагается прикладывать. Следует отметить неудобство такого кондуктора в обращении, так как требует постоянного удерживания рукой;
- закрепляемые. В отличие от скользящих кондукторов, они крепятся к тому месту, где их намерены использовать. Крепить их гораздо проще, но в силу своей конструкции ограничивают простор работ человека. Это можно наглядно увидеть при проведении работ на стенах или вертикальных плоскостях, имеющих всего один шпиндель.
Кондуктор для сверления отверстий накладной
Кондуктор для сверления отверстий универсальный
Кондуктор для сверления отверстий закрепляемый
Кондуктор для сверления отверстий поворотный
Общая информация о кондукторах
Сегодня в нашей публикации, мы побеседуем о видах кондукторов, о сфере их использования и возможности сделать собственными силами.
Разновидности кондукторов
Нужно сказать, что эти устройства применяются не только для высверливания отверстий
, но еще, когда исполняют фрезеровка, точение и обрубка.
Рассмотрим ключевые виды устройств.
Накладные
Такой вид кондукторов накладуется сверху заготовки. Может лежать как свободно, так и жаться при помощи болтов или зажимов. Они ценятся за простоту конструкции и маленькую цену.
Поворотные
На корпусе устройства предусматриваются втулки, которыми регулируются оси поворота в горизонтальной, вертикальной и наклонной плоскостях. Такие модели кондукторов предназначаются для высверливания цилиндрических изделий.
Скользящие
Наименование само за себя говорит, кондуктор
совсем не крепится, его просто накладуют там, где нужно сделать отверстие.
Опрокидываемые
Могут делать отверстия в нескольких плоскостях.
Стационарного типа
Они не имеют поворотных компонентов, способны переместить деталь и обрабатывать одинаковые заготовки.
Многофункциональные
Эти кондукторы имеют такую функцию, как переналадка. Что дает возможность быстро и удобно небольшим фирмам переключится на производство нового товара.
Описание кондукторов
Начинаем с понятия кондуктор — это говоря иначе шаблон, использование которого дает возможность выполнять комфортабельное и сверхточное сверление
.
Причем высверливать можно как перпендикулярно к поверхности, так и под самым разным углом. Если вы применяете кондуктор
, то вам не требуется особенной профессиональности, делать трудные расчеты, делать разметку, там где будут отверстия, что экономит достаточно времени.
Области использования
Как мы видим, благодаря многофункциональности и простоте собственной конструкции кондукторы стали широко распространены в самых разных областях жизнедеятельности.
Автомобилестроение
В отрасли автомобилестроения используют для высверливания отверстий
в самых разнообразных заготовках, сделанных из популярных материалов.
Используют кондукторы, которые повторяют чертеж с точным соблюдением всех размеров. Также применяют, когда потребуется
сверление отверстий смешанного типа.
Производство по изготовлению мебели
Самое основное распространение кондукторы получили в изготовлении мебели. Мебельные кондукторы используют для установки фурнитуры, мебельной сборке и множества иных инновационных процедурах.
При этом мебельная сборка выходит аккуратной, точной и быстрой. Огромное количество мебели, содержат шканты, которые должны ставиться довольно точно и здесь без кондуктора никуда.
Самый вострбованный кондуктор
для шкантов — doweling. Применяют как правило накладные кондукторы, изготовленные из легких материалов.
Строительство
Еще одна сфера, в которой повсеместно используют кондукторы для высверливания отверстий
– это строительство. При их помощи делают бурение инновационных отверстий в конструкциях в строительстве, к примеру, при установке Сип панелей.
Решает большой спектр задач, а тем более в сверлении труб сделанных из металла. Позволяет четко исполнить перпендикулярность когда происходит сверление. Используется также когда происходит сверление отверстий в плитке.
Важные достоинства применения
Кондуктор можно приобрести или выполнить своими руками.
Но прежде чем выбрать модель, необходимо сформироваться для каких задач, его будут применять и на основе этих всех данных необходимо подобрать вид и конструкцию инструмента.
Так почему необходимо применять кондукторы для высверливания отверстий:
- На уровне интуиции ясное применение, не требующее навыков профессионализма.
- Низкая стоимость устройства, а еще возможность самостоятельного изготовления.
- Экономит достаточно времени.
- На поверхности которая обрабатывается не необходимо наносить разметку при помощи пузырьковых уровней.
- Соблюдение точности когда происходит сверление.
Кондуктор для высверливания отверстий
считается важной частью не только производства, но так, же будет полезным и в домашнем быту.
Сфера применения
Следует отметить, что кондуктор для сверления используется практически повсеместно, где есть необходимость регулярно сверлить отверстия. Такими областями могут быть:
- производство мебели. При изготовлении мебели очень часто приходится сверлить отверстия под крепежные материалы, фитинги и фурнитуру. От точности и корректности выполненного отверстия зависит дальнейший вид мебели, ее презентабельность и продаваемость;
- строительство. При проведении строительных и ремонтных работ зачастую приходится сверлить стены, трубные и иные поверхности. Не имея шаблонов, это делать очень сложно, а исправление последующих ошибок заберет кучу времени. Благодаря шаблонам все высверливаемые отверстия будут иметь нужную форму, и находится под нужным наклоном;
- машиностроение. Работать без шаблонов здесь тоже достаточно сложно, так как все заготовки и детали проходят стандартизацию, то есть они все должны иметь одинаковые размеры, одинаковое положение каких-то частей, в том числе отверстий;
- серийное производство.
Штамповое производство также требует унификации некоторых компонентов. Шаблоны упрощают задачи в этом плане. Можно быть уверенным, что все высверливаемые отверстия будут иметь одинаковые размеры и одинаковый наклон, или будут прямо перпендикулярно относительно поверхности; - домашнее хозяйство. Дома часто приходится что-то ремонтировать, поэтому возникает такая необходимость, как высверлить отверстия в стенах, деталях или каких-то заготовках, где особая точность отверстий является весьма критичной.
В наше время кондукторы выпускаются как универсальные, так и специализированные под конкретные области производства работ. Цена некоторых невелика, поэтому нет необходимости изготавливать такие средства самостоятельно.
Кондуктор для цилиндрических заготовок или труб
Для цилиндрических поверхностей больше всего подходят поворотные или универсальные виды, так как во время сверления трубы или любой другого предмета, имеющего сферическую форму, сверло может смещаться, отчего отверстие окажется неправильной формы.
Кондуктор для цилиндрических заготовок или труб
Такие шаблоны позволяют выдерживать перпендикулярность между трубой или сферой и непосредственно сверлом. Это очень важно.
Виды кондукторов
Кондукторы, применяемые для разных целей, разделяют по видам:
- накладные, получившие название из-за особенности их использования. Такой шаблон ложится на поверхность заготовки как с последующей фиксацией, так и без нее. Широко применяется для высверливания отверстий в древесно-стружечных плитах;
- поворотные – предназначены для выполнения отверстий в цилиндрических поверхностях. Такие приспособления имеют как вертикальные и горизонтальные, так и наклонные оси поворота;
- опрокидываемые, позволяющие одновременное выполнение отверстий в разных плоскостях;
- скользящие – принимают рабочее положение для каждого отдельного отверстия. Эта особенность делает невозможной фиксацию таких приспособлений.
Отдельного описания заслуживают мебельные кондукторы для сверления отверстий
В производстве мебели обойтись без кондукторов или подобных шаблонов практически нельзя, особенно при сборке всех конструктивных элементов будущей мебели.
Они, прежде всего, исправляют такую ошибку, как неверный угол входа сверла в заготовку. Как известно, исправить такую ошибку очень сложно, порой, даже невозможно, а если возможно, то отнимает кучу времени. Кондуктор не только позволяет позиционировать сверло относительно детали, но и дает ей уйти с намеченного направления сверления в ходе работы.
Мебельный кондуктор для сверления отверстий
Они используются, когда требуется просверлить отверстия для крепежей. В этом случае применяется кондуктор для конфирмантов или шкантов. Без них просверлить такие отверстия просто невозможно. А как часто бывает такое, что при сборке мебели обнаруживается нехватка некоторого количества отверстий, необходимой для окончательной сборки.
Области применения различных кондукторов
Приспособления для выполнения отверстий находят широкое применение во многих отраслях промышленности. И в первую очередь – в строительстве.
Производство мебели
Во время самостоятельной сборки мебели порой возникает необходимость в высверливании дополнительных отверстий.
Эта операция требует точности и аккуратности и легко выполняется на специальном оборудовании. Но сверлильный станок имеется далеко не у каждого. Вот для таких целей очень удобным является применение кондуктора, который значительно упростит и ускорит процедуру сборки. При этом позволит сделать все точно и аккуратно.
На сегодняшний день на рынке строительных материалов имеется большой ассортимент фурнитуры и различных крепежных изделий. Но это не уменьшает значимость шкантов, которые по-прежнему широко применяются при сборке мебели.
Однако этот крепежный элемент требует точности установки, которая напрямую зависит от правильности выполнения отверстий в сопрягаемых деталях. В противном случае их смещение относительно друг друга – неминуемо. Избежать же такой неприятности достаточно просто. Нужно лишь воспользоваться для сверления отверстий под круглые шканты заводским или изготовленным самостоятельно кондуктором.
Отверстия в трубах
Выполнение отверстий в трубах и других поверхностях цилиндрической формы всегда сопровождается определенной сложностью.
Связано это с тем, что обычно сверло имеет свойство соскальзывать, уходить в сторону на криволинейной поверхности, искажая при этом форму отверстия.
Упростить задачу и избежать подобных дефектов можно с помощью универсального кондуктора.
С помощью специального оборудования легко выдерживать перпендикулярность отверстий, выполнять их строго по центру и точно на определенном расстоянии.
Кондуктор для отверстий под углом
Кондуктор для сверления отверстий под углом применяется для сборки мебели. Зачастую его используют для сверления не слишком толстых МДФ-плит или ДСП, фанеры. Используются также на производстве. Могут изготавливаться как в специализированном исполнении, под конкретные операции, или в более универсальном виде. Они сокращают время по изготовлению наклонных отверстий. Тем более, на глаз сделать их так же одинаково точно не получится.
В домашних условиях сверлить под углом приходится не часто, но такая необходимость возникает. Такого рода кондуктор можно изготовить самостоятельно, а можно купить.
Причина в том, что если не заниматься серийным производством, то подготовка шаблонов под нестандартные отверстия, скорее всего не оправдает затраты на себя. Проще и дешевле будет постараться рассверлить отверстие как нужно, но небольшими отклонениями, чем заниматься изготовлением шаблонов. Возможно, он больше никогда не пригодиться. Решать владельцу.
Как сделать кондуктор своими руками
Так как разновидностей кондукторов много, поэтому будем рассматривать оригинальную конструкцию и аналог соответственно. И так начнем.
Кондуктор для перпендикулярного сверления
Его главное назначение получение отверстий в толстых заготовках, под углом 90. По сути — это набор втулок объединенных в одном корпусе. Обычно это накладные кондуктора, которые широко применяются при сборке мебели.
Стоит приложить устройство к поверхности и можно приступать сразу к сверлению, без кернения. Есть один минус, приспособление следует крепко держать, а особенно в начале работы. Потому что от вибрации, приспособление может сместиться.
Данного типа кондукторы, можно сделать своими руками.
- В качестве основы можно использовать деревянный брусок, кусок текстолита, арматуру с квадратным сечением 10х10 мм.
- Поверхность хорошо обрабатываем, зачищаем и приступаем к разметке.
- Следует учесть то, что центр отверстий должен располагаться в 8 мм. от края заготовки. Это связанно с тем что 8 мм. это половина толщины листа ДСП.
- Согласно стандартам между центрами отверстий должно быть ровно 32 мм.
- После этого в этих центрах делаем отверстия диаметром 5 мм.
Самодельный кондуктор можно использовать, но для более удобного применения следует сконструировать упор, для этого используют металл шириной 23-25 мм. и толщиной 1 мм., после чего лист сгибают под углом 90 и крепят к кондуктору. Также в основание кондуктора, можно вставлять втулки разных диаметров.
Кондуктор для труб и цилиндрических заготовок
Все знают, что сделать отверстие в покатой поверхности проблематично, конец сверла постоянно соскакивает.
Данный вид кондукторов, фиксируется в заданном положении и позволяет работать с высокой точностью.
Такой вид кондукторов, можно сделать быстро и самостоятельно.
- Для этого нам понадобится брусок из твердых пород дерева, распущенный по диагонали. И кусок фанеры крепим к краю бруска с помощью саморезов.
- Потом делаем отверстия нужного диаметра в деревянном бруске.
Вот и все кондуктор готов к работе. Для того чтобы отверстия меньше разбивались, их можно усилить металлическими гильзами, которые выполняются из круглых труб разного диаметра.
Кондуктор для сверления отверстий под углом
Данный вид сверления мало где применяется.
Подойдет, когда удержать дрель или шуроповерт под нужным углом практически невозможно.
Здесь следует отметить, что в изделиях из металла такой вид отверстий делается только фрезой. А что касается деревянных изделий, то существуют готовые решения в виде комплектов.
Применять данные кондукторы вы просто, прижимаем заготовку плотно к основанию, выставляем заданную высоту и в итоге получаем ровные и красивые косые отверстия под углом.
Да если нам нужно не сквозное отверстие, то незабываем на само сверло надеть кольцо-упор.
Своими силами данный вид устройства изготовить сложно и проблематично. Есть достаточно простые способы и варианты, но они не отличаются точностью. Так, например, на подготовленную наклонную поверхность кладется дрель и сверлится под полученным углом наша заготовка, как мы понимаем точность очень сильно страдает.
Кондуктор для сверления отверстий под шканты
Их основное предназначение соблюсти соосьность отверстий, в последующем в которые будут установлены шканты. То есть когда вы прикладываете, кондуктор к обеим сторонам изделия, вы получаете идеальный стык.
Как вы понимаете, данный вид кондукторов можно сделать самостоятельно. Если у вас поток заготовок с одинаковой геометрии, вам удобно будет использовать накладной шаблон. В качестве шаблона желательно использовать оргалит или другой прозрачный материал (пластик).
Наносим разметку и высверливаем отверстия. Желательно в отверстия забить трубки из латуни или меди, чтобы сверло не разбивало калибровочное отверстие.
Универсальное приспособление
Когда вы используете заготовки различных форм и размеров, то вам потребуется универсальное приспособление. Самое интересное, что данное приспособление можно сделать из подручных материалов.
- Для этого нам понадобится фанера, толщиной около 15 мм.
- Делаем три одинаковые заготовки.
- По краям делаем отверстия, в которые устанавливают шканты в качестве ножек.
- Делаем одно отверстие посередине, которое армируем металлической трубкой.
- Делаем три металлических планки с симметрично расположенными отверстиями, они будут выполнять функцию плеча. Эти плечи отвечают за линейность отверстий будущего кондуктора.
- В заготовках из фанеры делаем пропилы и устанавливаем металлические плечи, все закрепляем. Наш универсальный самоцентрирующийся кондуктор готов.
Кондуктор отверстий под шканты
Кондуктор для сверления отверстий под шканты один из наиболее простых шаблонов в своем варианте исполнения.
Однако следует знать, что такие шаблоны должны упрощать работу мастера, а не усложнять ее, когда он вынужден применять сложные приборы.
Кондуктор отверстий под шканты
Применяется для сбора мебели. Должен обеспечивать одновременное сверление отверстий без смены прибора. Для изготовления используются разные материалы, имеющих разные прочностные характеристики. Самым прочным можно считать агрегат из стали.
Кондуктор под конфирмат разновидности и возможность изготовления
Также самый простой кондуктор для сверления отверстия под конфирмат. Сбирается такой кондуктор дома без особого труда. Имеет смысл его собрать самостоятельно, если занимаетесь профессионально изготовлением мебели. Для высверливания одного или двух отверстий нецелесообразно.
Кондуктор под конфирмат
Более сложные чертежи можно взять из любых источников в Интернете. С усложнением конструктивности устройства расширяется его спектр использования. Чтобы не заморачиваться с конструктивно сложными устройствами, можно сделать из легкодоступных материалов, как пластины из металлов, брусья из дерева, арматура или уголки.
Для работы с металлом может понадобиться сварочный материалы, хотя можно крепить фиксирующие элементы на резьбовые болты.
Преимущества и недостатки
По своему функциональному назначению кондуктор выступает как шаблон, по которому необходимо высверлить отверстие в требуемом материале с максимальной точностью к оригиналу. Такой шаблон очень облегчает работу мастера, когда нужно просверлить строго вертикальное, горизонтальное или наклонное отверстие.
Мастеру уже не нужно делать зарисовки, замеры, имея при себе такой инструмент. Сверло располагается строго под требуемым углом, который необходим в процессе работы и не сможет отклониться. Это повышает точность работы, которую видно на примере глубоких отверстий.
Для работы с мебелью кондуктор должен отвечать следующим требованиям:
- он должен помогать и ускорять процесс сборки мебели, не требовать использования сложного оборудования;
- позволять делать сразу несколько отверстий без необходимости нанесения ручных разметок;
- повышать работу со сверлом;
Материалы, из которых производятся кондукторы, имеют разные прочностные характеристики.
В основном это пластик и стекло из органического сырья. Но самые прочные получаются из металлов, а именно стали. Поэтому при выборе следует обращать на такие характеристики:
- минимальные деформации при больших нагрузках;
- четкая ось направления сверла;
- отсутствие нагрева во время работы.
В мебельном производстве применяют более легкие кондукторы, которые просты в обращении. Могут использоваться заводские или самодельные варианты.
Следует заметить, что у настоящего мастера глаз наметан, поэтому зачастую все эти приспособления, чтобы сделать отверстие верным, ему не нужны.
Явным преимуществом таких средств является удобство в эксплуатации. С их помощью даже неопытный человек сможет выполнить всю работу на уровне квалифицированного рабочего. Здесь даже не нужно делать какие-то сложные расчеты и иметь колоссальный опыт. Его главное назначение это ускорять процесс работы во много раз.
Самодельные кондукторные аппараты
Кондуктор для сверления отверстий своими руками является прекрасной альтернативой магазинным вариантам.
Поскольку не всегда в магазине имеется именно тот вариант, который требуется в данный момент. Его можно собрать самому дома.
Рассмотрим более популярный и стандартизированный вариант, пригодный для более часто выполняемых работ, как сборка мебели..
Схема для сборки кондуктора
Схема устройства кондуктора для сверления отверстий
Потребуется арматура диаметром от 10 мм. При помощи режущего инструмента, например, болгарки, нарезать на отрезки, требуемой длины. Зачистить заготовки наждачкой. По стандарту все высверливаемые отверстия имеют расстояние между собой в 32 см. Сделать отметки и просверлить дырки. На следующем этапе предполагается создание опорных точек для наших заготовок. Для этих целей прекрасно подходит пластина из любого металла. Толщина от 1 мм. Более толстую пластину использовать неразумно, так как она только утяжеляет вес всего устройства. Они соединяются вместе и далее намечаются места для резьбового крепления. Их соединяют и крепят друг с другом.
Вот и все, устройство готово к использованию.
Основное предназначение кондуктора, оно же самое главное, это упрощать работу со сверлом и сокращать время сборки мебели. Отличием покупного от самодельного устройства является его подгонка под конкретные нужды мастера.
Шаблон для мебельных шкантов
Этому инструменту отлично знают цену мебельщики и столяры. Когда приходится просверливать множество идентичных отверстий, без шаблона или кондуктора не обойтись. Поэтому в хорошей мастерской их много не бывает. Давайте и мы с вами попробуем сделать один из таких популярных шаблонов, облегчающих исполнение шкантового соединения.Как правило, такие приспособления делаются не одноразовыми, и рассчитаны на долговременное использование. Поэтому весь секрет в их исключительной точности, чтобы выверенные размеры раз и навсегда смогли заменить рулетку или даже штангенциркуль.
Единственный недостаток этого, как и большинства мебельно-столярных шаблонов – полное отсутствие настройки под размер.
То есть, если вы сделали его под толщину доски, скажем 25 мм, и интервал между двумя шкантами одного соединения 30 мм по центрам, то так оно и будет, и никак иначе. Для другого размера понадобится изготовить другой шаблон.Разберем применение нашего шаблона на примере изготовления небольшой рамки – оконной створки или обрамления мебельного фасада. При беглом расчете видно, что даже при создании такого простого изделия необходимо будет установить 12 шкантов, а значит просверлить 24 точных отверстия. Только на разметку их уйдет масса времени, а с шаблоном это будет сделано в разы быстрее. Приступаем!
Материалы, инструменты для изготовления шаблона
Разумно полагать, что такую точность голыми руками не сделать. Нам понадобятся циркулярка с кареткой для раскроя под углом 90о и вертикальный сверлильный станок. Для мастерских это оборудование не представляет особой уникальности, ведь сегодня оно вполне доступно.
Материал для шаблона – отходы производства. Вы не ослышались, делать мы его будем из обрезков заготовок, поскольку размеры очень небольшие.
Нужны будут столярный клей, сверла разного диаметра и хороший измерительный инструмент – линейка или штангенциркуль. Общий вид нашего шаблона такой.Изготовление шаблона для шкантов
Первым делом надо выбрать заготовку для рабочей части шаблона. Идеальными для этого считаются твердые породы древесины: дуб, акация, бук, ясень. Выставляем линейку на циркулярке, и раскраиваем заготовку, ширина – 5 см. Торцуем заготовку под прямым углом кареткой на той же циркулярке. Длина – 2,5-3 см.
Теперь ее нужно максимально точно разметить под рабочие отверстия. Но если их оставить незащищенными, то древесина от многочисленных сверлений очень быстро развальцуется, и шаблон станет неточным. Чтобы этого избежать, выбираем несколько отрезков металлической трубы с внутренним диаметром 8 мм (именно такой размер у стандартного мебельного шканта), и делаем из них посадочные гильзы для шаблона.
Сверлим под них отверстия на вертикальном станке. Интервал по центрам задаем исходя из своих заготовок, которые будем обрабатывать посредством шаблона (в нашем случае это около 3 см).
Из небольшого куска фанеры (толщина 8-10 мм) делаем ручку-держатель. Раскраиваем его на циркулярке по ширине рабочей части, то есть, 5 см.
Отмерив размер длины рабочей части, ставим метку на середине этой пластины из фанеры. Сверлим сквозное отверстие диаметром 9-10 мм. Это будет смотровое технологическое отверстие. Можно слегка его зенкеровать с лицевой стороны.
Штангенциркулем размечаем середину между двумя отверстиями рабочей части шаблона. Ставим на ее боковой грани метку.
Теперь можно соединить две части шаблона вместе, приклеив их на столярный или клей ПВА.
Настала очередь посадить в наш шаблон металлические гильзы-направляющие для сверления. Если отверстия не прослаблены, тогда они будут хорошо держаться и без клея. Запрессовать их можно ручной столярной струбциной.
Наш шаблон готов, теперь можно проверить его в действии. Работать им нужно, прижимая к заготовке струбциной. Как видим, все отлично работает!
Технология использования такого приспособления очень проста.
На ровной поверхности необходимо расположить сборную конструкцию так, чтобы можно было разметить средние точки у всех сопряжений. Это можно сделать от руки, без рулетки. В месте сопряжения элементов делается идентичная разметка обоих соединяемых деталей и ставится короткая риска на обе заготовки.Далее все как по накатанной: шаблон через смотровое отверстие центрируется с разметкой на деталях и зажимается струбциной. Отверстия засверливаются без дополнительных замеров. Глубина сверления регулируется длиной сверла или съемным ограничителем.
Остается все детали перед соединением хорошо промазать клеем, и произвести сборку, прижав соединения струбцинами. Таким нехитрым образом можно легко избежать перепадов по толщине при сращивании сборных заготовок, последующего их шлифования и изменения их толщины.
Столько недостатков решает один маленький нехитрый шаблон!
Смотрите видео
Кондуктор для шкантов — Master4dom.
ruСуществует много видов столярных соединений. От давно всем известного «шип – паз» до современных «domino» или ламельного. Каждый из них хорош по — своему. Но и у каждого есть специфические особенности. К примеру, соединение «шип – паз» изготовить так, чтобы оно было действительно надежным достаточно трудно. А для ламельного соединения нужен соответствующий ламельный фрезер, который стоит не дешево. Еще один распространенный тип соединения – соединение «на шканты». Изготовить такое соединение проще и дешевле. Готовые шканты можно приобрести в магазине, а отверстия под установку шкантов просверлить обычной дрелью или шуруповёртом.
Для того чтобы отверстия совпали и детали соединились ровно лучше всего воспользоваться кондуктором для сверления. Такой кондуктор может быть как универсальным, так и использоваться для конкретных задач.
В данной статье показан пример изготовления кондуктора
для сверления отверстий под шканты, с помощью которого можно соединять две
детали толщиной 30 или 40 мм и высотой поперечно устанавливаемой детали 40, 60
и 80 мм.
На два (при высоте 40 мм), три (при высоте 60 мм) или четыре (при
высоте 80 мм) шканта диаметром 8 мм. С помощью такого кондуктора можно собрать
стул, табурет, рамку и другие изделия.
Для изготовления кондуктора мне понадобилось:
— фанера толщиной 15 мм
— фанера толщиной 10 мм
— гетинакс толщиной 5 мм
— отрезок стальной трубки с внутренним диаметром 8 мм
— саморезы 3,5*25 мм – 3 штуки и 3,5*16 мм – 2 штуки
— клей ПУР.
От фанеры толщиной 15 мм отпилил две детали шириной 20
мм и длинной 80 мм. Склеил их так, чтобы получился брусок 30*20*80 мм. По
стороне 30 мм просверлил четыре отверстия диаметром 10 мм на расстоянии – центр
первого 12 мм от края, центр второго на 16 мм от центра первого отверстия,
центр третьего на 20 мм от центра второго отверстия, центр четвертого на 17 мм
от центра третьего отверстия. Таким образом обеспечивается возможность
соединения деталей высотой 40, 60 и 80 мм и расстояния от края детали до отверстий
снизу и сверху будет одинаковое.
В эти отверстия запрессовал стальные втулки диаметром 10 мм (внутренний диаметр 8 мм) на клей ПУР.
От фанеры толщиной 10 мм отпилил две детали. Первую размером 80*60 мм. Вторую 35*60 мм. Из гетинакса толщиной 5 мм отпилил деталь размером 20*80мм. Затем эти детали закрепил на саморезы к бруску. Деталь размером 80*60 мм так, чтобы брусок располагался по центру. Деталь из гетинаска между бруском и широкой деталью. Узкую деталь из фанеры толщиной 10 мм на торец бруска сверху.
В таком виде кондуктор готов для соединения деталей толщиной 40 мм в в верхней части детали (например царга к ножке табурета). Для соединения деталей в произвольном месте, например проножка к ножке табурета, с кондуктора необходимо снять верхний ограничитель (узкую деталь из фанеры толщиной 10 мм). Для соединения деталей толщиной 30 мм с кондуктора необходимо снять проставку из гетинакса. А для соединения двух деталей одной с толщиной 40 мм (ножка табурета) и второй с толщиной 30 мм (царга или проножка) необходимо взять кондуктор в готовом виде просверлить отверстия в детали толщиной 40 мм (ножка табурета) затем снять проставку из гетинакса и просверлить отверстия в детали толщиной 30 мм (царга или проножка).
В этом случае детали будут соединены с отступом в 5 мм.
7 самодельных приспособлений для дюбелей, которые можно легко сделать своими руками
Приспособление для дюбелей — это отличный инструмент, который помогает делать прямые отверстия при сверлении в определенном месте; например, когда вы скрепляете два куска дерева вместе. Всякий раз, когда у вас есть кусок дерева, в котором вам нужно просверлить прямое отверстие, шаблон для дюбелей станет вашим помощником.
Это удобный инструмент, который не только подходит для многих нужд деревообработки; вы также можете использовать его для своих повседневных нужд, если вы не такой профессионал в деревообработке. Многие строители ищут приспособления для дюбелей после деревообрабатывающих инструментов, но обычно дело в том, что эти приспособления слишком дороги.
Так что, если вы хотите приобрести приспособление, функциональное как заводское, эти руководства будут вам очень полезны.
1. Приспособление для изготовления дюбелей своими руками
Это простое руководство поможет вам сделать приспособление для дюбелей из обрезков древесины. Приспособление для дюбелей было создано, чтобы помочь дизайнеру создавать прочные соединения, соединяя куски дерева с помощью дюбелей. Это также помогает ему делать точные отверстия и выравнивать их.
Если вы ищете альтернативу карманным отверстиям, эта конструкция очень подходит.С парой деревянных обрезков и втулок вы можете сами сделать это дешевое приспособление для дюбелей. Чтобы сделать точные отверстия в вашем проекте, вы можете использовать сверлильный станок с долотом Форстнера.
Этот письменный учебник очень информативен и прост для понимания.
Он поставляется со встроенной ссылкой на видео-урок, его легко сделать и использовать при необходимости. Учебник тоже короткий.
2. Простой и легкий зажим для дюбелей своими руками
Необходимость быстрее выполнять строительные работы и собирать объекты, используя другой подход к созданию этого проекта «сделай сам».Дизайнер советует соблюдать осторожность при работе с твердыми пиломатериалами, такими как сосна, потому что они могут легко деформироваться или искривиться.
Для этого дизайна в учебнике есть список вырезов, и дизайнер также добавляет список размеров, которые можно заменить другими размерами. Учебное пособие по создаваемому дизайну представляет собой двухэтапное письменное руководство, которое можно выполнить в один миг.
Этот учебник также содержит встроенный видеоурок, который может заменить письменный урок.Если вы хотите посмотреть этот учебник вместо того, чтобы читать письменную версию, вы можете перейти по ссылке. Видео длится около 6 минут и очень поучительно.
Выбор учебника, который вы используете, зависит от вас.
См. руководство
3. Конструкторское приспособление для дюбелей своими руками
В этом учебном пособии вы узнаете, как собирать деревянные детали двумя способами. Этот урок был создан из-за необходимости создания соединений для шкафов и других традиционных предметов домашнего обихода.Опять же, это письменный учебник со встроенными видео.
Вы можете адаптировать этот принцип изготовления приспособления для различных досок, рам, кромок, стыков встык, сверления стен и т. д. В 12-минутном учебном пособии вы найдете все, что вам нужно, чтобы создать сверхфункциональное приспособление для дюбелей.
Это учебное видео, и учитель дает инструкции по ходу видео. Информацию о раскрое, а также план здания, размеры и другие важные детали можно найти в видео.
Дополнительные полезные советы по использованию этого зажимного приспособления для дюбелей можно найти в 20-минутном видео, которое также содержится в руководстве.
См. руководство
4. Самоцентрирующееся приспособление для дюбелей
Это приспособление было небольшой модификацией первого приспособления. Дизайнер обнаружил некоторые серьезные проблемы в первом, который он сделал. Учебное пособие не разделено на этапы, но по мере чтения вы можете отметить инструкции, которые вам понадобятся при создании приспособления.
В отличие от старой версии кондуктора, в новой версии вам не нужно демонтировать весь кондуктор всякий раз, когда вам нужно сверлить с другой стороны. Вы можете просверлить отверстия для дюбелей сбоку, как показано в статье.
Для этого дизайна автор предоставляет пользователям бесплатные планы дизайна, которые можно получить, просто добавив план в корзину и скачав его бесплатно.
См. руководство
5. Простое приспособление для дюбелей своими руками
По словам дизайнера, этот проект можно выполнить менее чем за час.
Вам понадобятся обрезки дерева и две втулки. Его можно найти в любом хозяйственном магазине или даже в мастерской.
Если вы сделаете приспособление правильно, вы получите очень точные результаты при его использовании. Несмотря на то, что это не обучающий видеоурок, он понятен и понятен. Для этого дизайна нет списка вырезов или плана дизайна.
6. Простое в использовании приспособление для дюбелей своими руками
Это простое, но очень точное и удобное в использовании приспособление для дюбелей.Это было сделано в течение часа с очень простыми инструментами. Вам понадобится небольшая оргстекло, фанера, металлическая труба/втулки диаметром ⅜ внутри.
Вам также потребуются рабочие инструменты, такие как струбцины, дрели, тиски, клей и т. д. Это краткое руководство, продолжительностью около 3 минут, но оно является учебным, и вам даже не понадобятся письменные инструкции, чтобы понять его смысл.
.
Материалы для этого проекта найти несложно, так что построить проект не составит труда.
7.Большой зажим для дюбелей своими руками
Веселое и интересное видео, которое держит вас в напряжении до последней секунды. Необходимые инструменты включают, среди прочего, фанеру, дрель, карандаш, пилу, стальные трубы, клей и зажимы.
В этом видеоуроке показано, как сделать большое приспособление для дюбелей и прилагаемое к нему гнездо для сверла. Для работы нет строительных планов или списков раскроя, поэтому все размеры и чертежи вам придется делать самостоятельно.
Заключение
Приспособления для дюбелей — это идеальные инструменты, необходимые для проделывания точных отверстий в деревянных материалах и любых материалах, которые вы хотите соединить.Это означает, что если вы заядлый строитель DIY, он вам понадобится чаще, чем нет.
Эти учебные пособия представляют собой бесплатные и простые для понимания руководства, которые помогут вам достичь этого примерно за два часа. Это небольшая цена за долгосрочную поставку точных соединений и прямых отверстий.
Самодельный зажим для штифта | Главная Направляющие
Отверстия под дюбеля должны быть просверлены как можно более прямо. Но не так-то просто просверлить их вручную, если у вас нет направляющей. Вы можете сделать простую направляющую из небольшого бруска твердой древесины, которая поможет держать ваши отверстия прямо, независимо от того, сверлите вы вертикально или горизонтально.
Проблемы
Большинство людей не могут сверлить прямые отверстия ручной дрелью. Он может казаться прямым, но неизбежно будет смещаться под углом. Человеческий глаз не может обнаружить небольшие отклонения, проявляющиеся при вставке дюбеля в отверстие. Часть проблемы со сверлением заключается в том, что сверла имеют тенденцию повторять структуру зерна.
Бит изгибается вместе с зерном. Если зерно начинается прямо, долото последует за ним. Когда зерно поворачивается, бит будет продолжать следовать.
Направляющие
Направляющие заводского типа для сверления отверстий под штифты имеют небольшие втулки, которые надеваются на сверло. Небольшой зажим крепит втулку к дереву. Столяр вставляет сверло в втулку и просверливает отверстие. Втулка удерживает биту прямо. Но вам не нужно заводское руководство. Вы можете просверлить отверстия в блоке твердой древесины. Блок должен быть толщиной примерно 1 1/4 дюйма, шириной около 2 дюймов и длиной 3 дюйма. Прижмите деревянный брусок к поверхности дерева, где вам нужно просверлить отверстие для дюбеля, и используйте отверстия, как если бы вы использовали втулку на заводском приспособлении.
Изготовление нескольких шаблонов
Вы можете сделать несколько шаблонов, используя сверла разных размеров для отверстий под штифты разного размера. Попробуйте сделать их из разных пород дерева.
Клен, вероятно, лучше всего подходит из-за присущей ему твердости, но белый или красный дуб тоже подойдут. Вы можете сделать их больше или меньше в зависимости от того, какой размер вы используете чаще всего, и когда они становятся неряшливыми или начинают изнашиваться, просто сделайте новые. Одно предостережение: всегда сверлите новые блоки с помощью сверлильного станка, так как они обеспечивают самое прямое сверление.
Размер дюбеля
Самодельный зажим для дюбеля может выполнять двойную функцию. Штифты для штифтов варьируются от штифта к штифту, в любое время, когда вы их покупаете. Возьмите один из приспособлений с собой в место, где вы покупаете дюбели. Вставьте дюбель в приспособление, чтобы проверить его размер. Вы будете удивлены, сколько дюбелей не выдержат этого испытания. Если вы беспокоитесь о том, чтобы получить дюбель нужного размера, наличие зажимного приспособления в вашем кармане может иметь огромное значение.
Как сделать шпунтовое соединение | HowToSpecialist
Эта статья о том, как сделать дюбель .
Вообще говоря, деревянные колышки используются при изготовлении мебели или при плотном соединении нескольких кусков дерева. В большинстве случаев будет недостаточно скрепить деревянное соединение деревянных деталей с помощью клея, но вы также должны сделать дюбельное соединение с помощью деревянных штифтов. Этот метод довольно старый, но очень эффективный, так как он создает надежное соединение между двумя или более деревянными частями.
Обычно вам также нужно использовать клей вокруг дюбельных штифтов, так как это повысит прочность деревянного соединения, особенно если вы скрепите компоненты вместе несколькими зажимами.После того, как клей высохнет, шпунтовое соединение будет даже прочнее, чем обычный кусок дерева, если вы используете правильные методы и инструменты.
Материалы
Инструменты
Советы
- Ознакомьтесь со страницами по технике безопасности и отказу от ответственности
- Используйте хорошую дрель с контролем крутящего момента
- Используйте металлические штифты, чтобы обеспечить правильное соединение штифтов
- Лучше всего использовать приспособление для дюбелей .
- Оставьте не менее 1/2 дюйма от края или угла деревянной детали при сверлении отверстий

Сверление отверстий под дюбель
Разметка отверстий для дюбелей
Если у вас нет шаблона для дюбелей (который является лучшим вариантом при выполнении дюбельного соединения), вы должны использовать L-образный угольник, чтобы отметить место, где вы собираетесь просверлить несколько отверстий.Следовательно, сначала нарисуйте линию посередине деревянного столба. Затем с помощью угольника или рулетки отметьте точные места, где вы собираетесь просверливать отверстия (в нашем случае пересечение линий).
Умный совет: Убедитесь, что вы оставили не менее 1/2 дюйма от краев, чтобы убедиться, что древесина не треснет при сверлении отверстий.
Сверло для установки штифтов
Для того, чтобы выполнить работу профессионально, мы должны использовать деревянные дюбели и острое сверло.
Размер большинства дюбелей варьируется от 1/2 до 1/4 дюйма в зависимости от типа вашего проекта. Если вы хотите соединить между собой мебельные щиты, вам в большинстве случаев придется использовать дюбельные штифты 1/4″, а для более крупных деталей можно установить деревянные дюбели 1/2″.
Сверление отверстий в деревянных деталях соединения
Затем используйте хорошую дрель с контролем крутящего момента, чтобы просверлить несколько отверстий.Если куски дерева, которые вы хотите соединить вместе, не больше 3-4 дюймов, то 2 деревянных дюбеля вполне подойдут.
Умный совет: Используйте ограничители глубины для сверл, чтобы убедиться, что вы не просверлите отверстия большего размера, чем вам действительно нужно. Вы должны установить глубину упоров на сверле, всего на 1/10 дюйма больше, чем половина размера дюбеля.
Отверстия для установки дюбелей
При сверлении отверстий держите сверло перпендикулярно поверхности деревянной доски.Хотя может показаться трудным просверлить отверстия без приспособления для дюбелей, мы заверяем вас, что вы сможете сделать это с небольшой практикой.
Умный совет: Используйте только качественные сверла. Если сверло не острое, то вы рискуете сделать некачественные отверстия, и ваши детали не будут совпадать. Кроме того, не сверлите первую часть отверстия на высоких скоростях.
Сверление ответных отверстий в другой деревянной детали
Использование металлических дюбелей
Далее нам нужно просверлить отверстия в другой половине деревянного соединения.Следовательно, мы должны использовать металлические штифты, чтобы убедиться, что два компонента правильно выровнены. Поместите дюбель в просверленные отверстия, убедившись, что они установлены точно в нужное положение.
Разметка ответных отверстий во втором компоненте
Затем поместите второй компонент поверх первого куска дерева, убедившись, что их края идеально выровнены.Если вы соединяете две небольшие детали, то вы можете установить компоненты рядом с прямой стеной или верстаком.
Умный совет: После того, как вы убедились, что две половинки идеально выровнены, вы должны постучать по верхней деревянной части резиновым молотком, чтобы сделать отметки для сопрягаемых отверстий (в другой половине дюбельного соединения ).
Сверление отверстий с помощью сверла с острием
Далее нам нужно просверлить отверстия во втором куске дерева, чтобы соединить две половинки вместе с помощью дюбелей.Чтобы убедиться, что две части подходят друг к другу, вы должны просверлить отверстия по отметкам, используя ту же технику, что описана выше.
Установка дюбелей
Далее, поскольку наш проект о том, как соединить древесину с помощью дюбелей , почти завершен, мы должны установить штифты для дюбелей. Следовательно, налейте немного столярного клея в отверстия и плотно постучите по деревянным дюбелям, пока не вставите половину из них.
Умный совет: После нанесения столярного клея необходимо установить вторую половину шва, так как клей обычно очень быстро высыхает.
Крепление деревянного соединения дюбелями
И последнее, но не менее важное: мы закрепили дюбель, соединив вместе две деревянные детали. Прежде чем постучать по верхней части резиновым молотком, вы должны убедиться, что компоненты правильно выровнены. Затем используйте больше клея в отверстиях другой половины, прежде чем надежно зафиксировать их.
Спасибо, что прочитали нашу статью о том, как сделать дюбель , и мы рекомендуем вам ознакомиться с остальными нашими проектами. ПОДЕЛИТЕСЬ нашими проектами и ПОСТАВЬТЕ им НРАВИТСЯ с друзьями с помощью виджетов социальных сетей. ПОДПИСЫВАЙТЕСЬ, чтобы получать наши последние проекты первыми.
Изготовление фасадных рамок с помощью заводского приспособления для завинчивания дюбелей
До того, как появились столярные станки и системы саморезов, столяры обращались к дюбелям для изготовления прочных фасадных рам. Они по-прежнему хороши сегодня, но вам понадобится приспособление, чтобы точно просверлить эти отверстия для дюбелей. Вот как сделать и использовать это простое приспособление.
Шаг 1: Выберите кусок лома толщиной 1-1/2 дюйма (подойдет даже кусок 2×4), соедините и выровняйте его под прямым углом.
Разорвите обрезки, чтобы они соответствовали обычной ширине ваших частей лицевой рамки — приспособление шириной 2 дюйма — это хороший общий размер — и разрежьте заготовку приспособления на 2-1/2 дюйма. длинная.
Шаг 2: Хотя вы можете сделать это приспособление без втулок, вскоре ваше сверло начнет расширять направляющие отверстия, что нарушит точность приспособления. Бронзовые или стальные втулки значительно продлят срок службы вашего зажимного приспособления. Вы можете найти их в большинстве хозяйственных магазинов. Купите пару с диаметром 1/4 дюйма.внутреннего диаметра и держите их под рукой для следующего шага.
Шаг 3: Разметьте пропорции приспособления. Верхняя «сверлящая» часть приспособления должна соответствовать длине вашей втулки. Надрежьте нижнюю часть зажимного приспособления так, чтобы оно подходило к заготовке лицевой рамы и создавало длинную кромку для зажима на заготовке. Определите желаемое расстояние между дюбелями и отметьте две линии разметки на приспособлении, которые начинаются сверху и охватывают область сверления на стороне с насечками: они будут служить удобным средством выравнивания при использовании приспособления.
Наконец, отметьте центры дюбелей в верхней части заготовки приспособления.
Шаг 4: Измерьте внешний диаметр втулок; они, вероятно, 3/8 дюйма. Закрепите упор на столе сверлильного станка, чтобы поддержать заготовку приспособления и выровнять ее для сверления. Просверлите пару отверстий в верхней части приспособления для установки втулок. Нет необходимости просверливать заготовку насквозь — отверстия должны доходить только до области надреза.
Шаг 5: Сформируйте выемку на приспособлении на ленточной пиле.Начните с продольного разреза на ограждении ленточной пилы, чтобы создать длинную кромку, а затем сделайте поперечный разрез по линии разметки надреза, чтобы вырезать отходы. Сделайте этот разрез, зажав кондуктор и прижав его к угловому упору.
Шаг 6: Установите направляющие втулки в приспособление с помощью быстросохнущей эпоксидной смолы. Одним из простых способов вставить втулки в отверстия является использование С-образного зажима в качестве пресса.
Затяните зажим, чтобы вставить втулки на место. Когда эпоксидная смола затвердеет, ваш зажим для дюбеля готов к работе.
Шаг 7: Чтобы привести в действие новое приспособление, разложите детали лицевой рамы и начертите пары линий на каждом стыке рельсов и перекладин, чтобы обозначить положение штифтов. Используйте буквы или цифры, чтобы обозначить каждое соединение, чтобы сохранить четкость ориентации детали.
Шаг 8: Отметьте на сверле нужную глубину сверления с помощью куска ленты, обернутого вокруг него, или с помощью стопорного кольца. Глубина должна равняться длине втулок приспособления плюс чуть больше половины длины дюбелей, которые вы планируете использовать.
Шаг 9: Просверлите отверстия для дюбелей в деталях лицевой рамки. Порядок сверления деталей не имеет значения; просто убедитесь, что выровняли и тщательно зажали приспособление, чтобы центральные линии дюбеля на приспособлении совпадали с линиями компоновки на ваших заготовках.
Шаг 10: Выполните полную сухую посадку, прежде чем склеивать и зажимать раму. Если какое-либо соединение искривлено, попробуйте другую пару дюбелей. Иногда дюбели коробятся, и прямой мог бы исправить проблему.
Храните новое приспособление там же, где храните дюбеля или сверла, и оно будет готово к работе каждый раз, когда лицевая рама окажется в вашем списке дел.
Шаблон для сверления дюбелей Powertec с Cobalt M-35, локатор карманных отверстий
- В комплект входят (1) направитель для сверла, (1) сверло, (1) стопорное кольцо, (1) ключ для затяжки
- Обеспечивает быструю, легкую и сверхточную сборку дюбельного соединения Направляющая сверла
- обеспечивает безупречное расположение и центрирование отверстий при сверлении толстого материала; с небольшими доработками можно использовать с более толстым прикладом Направляющая сверла
- изготовлена из прочной закаленной стали; Направляющая пластина с четким обзором изготовлена из прозрачного закаленного акрила диаметром 3/16 дюйма.
- Premium M35 изготовлено из быстрорежущей стали с прецизионной обработкой; разработан с разделительной головкой под углом 135 градусов для точного и чистого сверления
- Прочный и долговечный благодаря множеству успешных проектов; удобное хранение с предварительно вырезанным отверстием для подвешивания.
Сверло Мы предусмотрели все, что вам нужно для оптимальной настройки соединения. Корпус кондуктора имеет два направляющих отверстия, расположенных по центру, и изготовлен из закаленной стали с высокой точностью. Его встроенная смотровая/направляющая пластина изготовлена из прозрачного закаленного акрила (толстого) для удобства просмотра. Входящее в комплект сверло (M35) изготовлено из быстрорежущей стали (с 8-процентным содержанием кобальта), уникально прочного металла, устойчивого к нагреву и царапинам. Наконечник сверла имеет точку разделения под углом 135 градусов, которая требует меньшего усилия пользователя и сверлит непосредственно при контакте, что приводит к чистому просверливанию отверстий под дюбель.
Удобный стопорный хомут и совместимый шестигранный ключ обеспечивают равномерную и точную глубину отверстия под дюбель. Для использования совместите приспособление с заготовкой, используя центральную линию, которая удобно нанесена на акриловую лицевую панель, а затем закрепите устройство на месте. Две направляющие линии, установленные выше и ниже центральной линии, позволяют точно определить, где нужно просверлить отверстия для дюбелей. Затем просто поместите сверло в направляющую сверла, и все готово. Это идеальное устройство для оптимизации широкого спектра рамных приложений.Идеальные шпунтовые соединения обеспечивают идеальные размеры мебели.
Надежный, эффективный и приятный в использовании
Опция:
- 71496: приспособление для установки дюбелей 1/4″ для центрирования дюбелей на 1/2″ заготовке; имеет два направляющих отверстия, расположенных на 3/4 дюйма по центру
- 71497: приспособление для установки дюбелей 3/8 дюйма для центрирования дюбелей на 3/4 дюйма; имеет два направляющих отверстия, расположенных на 3/4 дюйма по центру
- 71498: приспособление для установки дюбелей 1/2 дюйма для центрирования дюбелей на 1-дюймовом складе; имеет два направляющих отверстия, расположенных на расстоянии 1 дюйма от центра
Руководство по продукту: просмотреть PDF-файл
ПРЕДУПРЕЖДЕНИЕ.
При сверлении, пилении, шлифовке или механической обработке изделий из дерева вы можете подвергнуться воздействию древесной пыли — вещества, которое, как известно в штате Калифорния, вызывает рак.Избегайте вдыхания древесной пыли или используйте пылезащитную маску или другие средства индивидуальной защиты. Для получения дополнительной информации посетите веб-сайт www.P65Warnings.ca.gov/wood
Шаблон Приспособление для установки дюбелей Введение Введение Коммерческий зажимные приспособления, как правило, тяжелые изделия из обработанного алюминия и стали. Они могут работать к северу от 150 долларов (с одним известным производитель предлагает модель стоимостью около 300 долларов). я разработал система крепления дюбелей, которая конкурирует с этими дорогостоящими алюминиевыми монстры. Сочетание станка с ЧПУ (с точностью до тысячные доли дюйма) акриловый шаблон с одним сверлом «втулка», установленная в фанерном блоке, этот кондуктор сочетает в себе потрясающая точность и ценность. На фото выше
Правильно, шаблон двусторонний. Одна сторона предлагает довольно
обычная схема расположения отверстий 3/8″. Вторая сторона разработана
для быстрой обработки столов/подставок/скамей из
«выделанный» строительный пиломатериал. «Одет»
означает, что эти доски прошли через фуганок и рубанок, чтобы получить
прямой и однородный материал размером 1-1/4 дюйма на 3-1/4 дюйма (подробнее
об этом позже). Эти являются NLA, V2 был выпущен. ПРЕДУПРЕЖДЕНИЕ:
Я полагаю, в этот день и возраст я должен обеспечить какую-то безопасность
предупреждение. Вам нужно будет использовать дрель, так что вы должны быть
ознакомьтесь и соблюдайте все инструкции , что
пришел с сказал дрель. Сборка Единица поставляется в виде трех штук в мягком конверте. Сборка проста:
Использование Достаточно уже, давайте сделаем косяк, это лучший способ показать, как он используется. я собираюсь используйте «обычную» (более широкую) сторону шаблона и соедините два куска более узкого материала вместе (аналогично тому, что было бы участие в изготовлении лицевой рамки):
Наконечники Выравнивание
ваши заготовки Регулировка
приспособление Но я также есть проставки 1/8″ и 1/4″, а также более толстые проставки. Все они пригодятся, а иногда и складываются. Проставки нужны быть плоским. Любое отклонение от квартиры будет передано забор и, в конечном счете, к вашему суставу. Лом кусков пиломатериалов действительно идеальны. Отметьте их толщину, просверлите отверстие в них и повесьте их над своим верстаком. Делать отверстия
должны быть идеально отцентрованы в прикладе? На самом деле, мой первое приспособление для установки дюбелей было одним из тех самоцентрирующихся приспособлений, которые вы можете все еще покупают сегодня (примерно в 2 раза дороже этого).И хотя он должен был центрировать отверстия, на самом деле он никогда не сделал. Они были немного смещены от центра, и ряд отверстий был всегда немного меньше, чем параллельно краю приклада, тоже это было очень неприятно. я знаю, некоторые сказать «это деревообработка, это достаточно близко.» ну я когда-то нужно было сделать восемь больших кронштейнов из материала 1х4 и все стыки были оторваны настолько, что потребовалось значительное шлифование. обязательный.Это добавило немного времени и разочарования проект. В основном для моей жены, потому что я заставлял ее делать всю шлифовку. Если мои дырки
не нужно центрировать, почему мы это обсуждаем? Есть
причины, по которым вам могут не понадобиться центрированные отверстия. Зажим
приспособление Один важный Суть в том, чтобы совместить край пластикового шаблона с краем ваша заготовка. Не используйте забор для выравнивания, это не всегда идеально совмещены с краем шаблона. Быстрозажимные зажимы
как тот, что изображен выше, работает нормально. Сверление отверстий Дай свой бит
шанс убрать стружку из лунки, частично извлекая ее
через каждые 1/2 дюйма (или около того) сверления. Как только вы достигнете глубины
остановитесь, немного расширьте отверстие, несколько раз перемещая сверло вверх и вниз. Подождите, почему
пусть втулка вообще двигается, почему бы не приклеить эту присоску? Создание вашего собственные шаблоны позволят вам достичь точности и скорости, подобной ЧПУ на всевозможных крупных проектах. Вы прочитаете об этом подробнее ниже («Шаблоны DIY»). Сверла Есть исключение из моего правила битов, и это когда биты работайте лучше, используйте их. Это в основном с некоторыми хвойными породами, такими как SYP (южная желтая сосна) или DF (дугласова пихта).Темное зерно в этих лесах очень твердая, а более легкая древесина довольно мягкий. Биты с точкой разделения могут бороться здесь и отрывать большие куски штока, биты с брэд-пойнтом могут работать лучше. Проверьте свои биты в ломках вашего запаса перед началом. Нет двух сверл
биты, кажется, равны, часто сверля немного меньше или больше
отверстия. Главное, чтобы дюбели входили в
отверстия.Мы не хотим, чтобы отверстия были настолько тугими, что дюбель не пройдет. Стопорные кольца На картинке на оставил , вы можете увидеть мой пластиковый стопор/ограничитель глубины.
из трубок, которые я купил в местном хозяйственном магазине Ace. Чтобы определить необходимой длины трубки, я надеваю шайбу на биту, затем втулка сверла. Я измеряю длину долота, расширяющегося за пределами втулки и вычтите желаемую глубину отверстия. Именно такой длины я обрезал трубку. у меня есть немного сливочного сыра контейнер с кусками трубок разной длины, я почти всегда есть тот, который в самый раз. у меня тоже есть парочка лишних шайбы, их можно складывать друг на друга для регулировки на 1/8 дюйма. Кстати, я все еще часто используют два бита и два сверла, чтобы ускорить процесс сверления отверстия на разной глубине. Проверка соединений я делаю 1-2 проверяйте соединения перед началом любого проекта, и я проверяю соединения своих проект перед сборкой. Это экономит наполнение фляги. Дюбеля:
Спирали против.флейты Нанесение клея ФВВ, это метод, описанный Джеймсом Крёновым в одной из его книг. Да, Джеймс Крэнов был тупицей. Зажим Подождите, есть
соединения, сделанные с помощью дюбелей, достаточно прочны? Эй, это
штука пластиковая, она прочная? Помните, что сверло никогда не касается пластика, только втулка сверла делает. Таким образом, на шаблоне нет износа. Дело в том, что
они пластиковые, легкие и относительно недорогие
их довольно приятно использовать по сравнению с тяжелыми алюминиевыми приспособлениями, которые у меня есть. обратная сторона (для пиломатериалов) Ниже приведен фото станка для ленточной пилы, который я построил из зачищенных 2х4. это невероятно прочный, а материалы взяты из 2×4, которые я нашел выброшенными по соседству! У меня на этой подставке установлены две ленточные пилы, установка с разными типами лезвий для двух разных Приложения.Я называю это мэйнфреймом ленточной пилы, потому что ленточнопильные станки фактически не крепятся к станине. Скорее, они крепятся к фанерным основаниям, плавающим в верхней части подставки. Шипы под фанерой предотвращают соскальзывание оснований с верхней части, но каждая ленточная пила может быть легко снята со стойки. Почему? Потому что когда-то у меня было три таких ленточных пилы, а также небольшой фуганок и рубанок, которые я использовал на этом же стенде, все с одинаковыми различные основания, так что я мог довольно легко вращать инструменты. Используя 2-й сторона приспособления не слишком отличается от использования первой, но если картина стоит тысячи слов, здесь десять тысяч слов на с использованием второй стороны приспособления:
я сделал
примерно десять таких стендов за эти годы. Немного
были проданы с инструментами, которые были на них (последним из них был
маленький фуганок Ryobi из Японии). Почти каждый раз посещаю домашний центр, проверяю стоп пару рядов любых Приклад 2×4 для пихты Дугласа относительно чистый и прямой. Я держу их запас в своем гараже на следующий раз, когда мне понадобится другая подставка/стол/скамья. я также держу поищите по соседству выброшенные материалы 2×4, я сделал пару стоек из этого абсолютно бесплатного леса. Сделай сам
шаблоны Как я уже заметил ранее вы можете создавать свои собственные шаблоны и достигать результатов, подобных ЧПУ. точность и скорость. Важно
особенностью моих буровых втулок является то, что при умеренном давлении они могут
скользить вверх/вниз по удерживающим их деревянным блокам (они не упадут
снаружи, сопротивление возрастает по мере приближения к их концам). Вот краткая картинка по шаблонам DIY:
Проницательный наблюдатель поймет, почему это так хорошо работает: шаблон переворачивается при переходе от сверления нашей воображаемой боковой детали к наша воображаемая нижняя часть.Те стрелки на шаблоне, что всегда указывать на опорную кромку (в данном случае все, что мы используем как наш забор) гарантируют, что наши отверстия идеально выровнены. Пока я взял
некоторые заботятся о том, чтобы красиво расположить мои шаблонные отверстия, не имеет значения, если
Я сделал их в случайном зигзагообразном порядке, отверстия между двумя
части выровнены из-за того, как шаблон ориентирован во время сверления. Как вы можете наверное себе представляете, этот метод позволяет сделать шаблон для почти любую задачу и соединять даже большие детали с большой степенью точности. точность и скорость. Ниже картинка одного из нескольких корпусов для сабвуферов, которые я построил с использованием нестандартного шаблон. Я сохранил один из вольеров (остальные ушли в другом месте), мне все еще нужно загрузить его с драйвером. Шаблоны своими руками особенно хороши для больших листов-хороших проектов.я по-прежнему предпочитаю мой акриловый шаблон для более традиционных проектов. Дело в том,
как только вы поймете гениальность системы шаблонов, действительно
нет конца тому, что вы можете сделать с большой точностью
и скорость. Эти являются NLA, V2 был выпущен. —Фил На этой странице есть
просмотрено раз. |
5 советов по сверлению отверстий под дюбели в нужных местах
Как лучше всего совместить отверстия под дюбели на фасадах шкафов с торцевыми панелями? Специалисты по деревообработке проверяют свои ноу-хау, предлагая решения октябрьской задачи Shop Smart, представленной Woodworking Network.В случайно выбранном розыгрыше подробный ответ, предоставленный Ларри Ли, владельцем компании Pearl River Cabinet Co. в Карьере, штат Массачусетс, оказался победителем.
Сделать приспособление
«Мое правило магазина №1: если вам нужно сделать что-то более одного раза, сделайте приспособление. Мое правило магазина №2: используйте дюбели только тогда, когда абсолютно ничего не помогает!
«Поскольку оказывается, что это делается вручную, а шпонки настаиваются, сделай эту кондуктору. Вырежьте и соедините кусок твердой древесины толщиной с торцевую панель, шириной около 1-1/2 дюйма и длиной или длиннее, чем торцевая панель.
На сверлильном станке с квадратным упором просверлите центр края твердой древесины с отверстием выбранного размера с нужными интервалами для дюбелей, больше, если вы хотите использовать это на других соединениях.
«Поместите кусок 1/2-дюймового или около того 3-1/2-дюймового слоя или заготовки на одну из 1-1/2-дюймовых поверхностей так, чтобы 1 дюйм выступал за каждый край твердой древесины. Для использования просто закрепите приспособление на каждой соединяемой детали, используя противоположные стороны приспособления, указанные снизу каждой детали. Вы можете вставить металлические втулки в отверстия приспособления, чтобы замедлить износ и раскачивание.
«Конечно, я бы просто вырезал обе части на циркулярной пиле и уложил бы печенье по мере необходимости, или сделал бы слепой патрубок, приклеил бы и заколол гвоздь изнутри».
— Ларри Ли, компания Pearl River Cabinet Co.
Другие насадки для приспособлений
«Вставьте центры дюбелей в отверстия, совместите край передней панели с торцевой панелью и прижмите переднюю часть корпуса к корпусу, чтобы отметить расположение отверстий для дюбелей, которые необходимо просверлить в шкафу».
— Уолтер Симмонс, Duck Trap Woodworking
Попробуй столярку или купи приспособление
«Забивка штифтами — это старая технология, которая почти всегда приводит к подобным проблемам.Есть несколько приспособлений, которые могут подойти — приспособление Dow’l Simp’l, приспособление Woodpecker’s MT Doweling, или вы можете сделать самодельное приспособление. Лично я использую винты с потайной головкой или установку с пазом и шпунтом. Для большей точности также можно использовать столярный станок, Domino от Festool или горизонтальный долбежный станок».
— Алан Блоу, RCF Corp.
Суставы для печенья лучше
«Откажитесь от использования дюбелей и используйте вместо них печенье. Также вы можете попробовать винты с потайными отверстиями. Это было бы моим самым искренним предложением после 40 лет работы в бизнесе.
— Чарли Браун, Магазин шкафов Чарли Брауна
Дополнительные решения
«Создайте историю.





Высота подшипника должна быть, по возможности, как можно меньше и не более 8мм.

Отверстия, выполненные в ней, дают возможность для установления планки на деталях разной ширины. Перемещаемые по линейкам корпуса (сменные) имеют набор направляющих втулок, где расстояния между ними разные. Кондуктор фиксируется посредством соединительной планки, с противоположной стороны же имеется ограничитель хода, поджимаемый винтом-барашком.

Это удобно тем, что эти отметки понадобятся для последующего сверления других отверстий.

Такой прибор применим для высверливания плоских поверхностей, например, досок, МДФ-плит и ДСП. Его так и называют мебельный кондуктор для сверления отверстий. Благодаря применению кондуктора, сами отверстия получается очень аккуратными и выверенными;
Это очень удобно для проведения каких-то ремонтных работ, когда требуется просверлить в стене отверстие без больших затрат по времени и под конкретным углом;
Штамповое производство также требует унификации некоторых компонентов. Шаблоны упрощают задачи в этом плане. Можно быть уверенным, что все высверливаемые отверстия будут иметь одинаковые размеры и одинаковый наклон, или будут прямо перпендикулярно относительно поверхности;

Читайте мои инструкции и здесь, мы ар
защитные очки, работайте безопасно, руководствуйтесь здравым смыслом. 
две заготовки размещены в правильной ориентации на моем верстаке.
Если я использую
прокладка толщиной 3/8 дюйма (в данном случае фанера BB толщиной 3/8 дюйма),
отверстия будут центрированы в досках, когда я закончу.
Винты имеют шестигранную головку 4 мм, и у меня есть отличная трещотка, которую я использую.
со сменными битами. Вам нужно будет предоставить свой собственный
Инструмент с шестигранной головкой для затяжки винтов, отлично подойдет шестигранный ключ.
К сожалению, у меня нет третьей руки, чтобы держать
камера. Я просверлил здесь только две дырки, так как мой запас
несколько узкий.
Сустав сдвинут вместе, и выравнивание выдающееся,
еще один идеальный сустав !!!
самый. Проставка 3/8 дюйма позволяет мне центрировать отверстия.
в прикладе 3/4 дюйма, а проставка 1/2 дюйма позволяет мне создать
смещение/открытие при соединении фартуков с ножками (например).
Может быть, одно лицо
на вашей доске есть канавка или другая деталь, которая будет мешать
дюбеля по центру.Так что компенсируйте свои дыры в этом случае, будучи
креатив с прокладками. Неважно, вы можете центрировать или
не центр.
Небольшие зажимы F-типа
тоже здорово. Плотно зажмите приспособление, вы не хотите, чтобы оно двигалось, когда
ты сверлишь отверстия.
Точки на многих битах brad-point часто
немного смещена от центра и может конкурировать с втулкой сверла, когда она
доходит до выравнивания отверстий.
в отверстие после того, как клей будет внутри. Точно так же, настолько свободно, что
дюбели выпадают, значит, пострадает прочность соединения.
в
рис на справа , вы можете видеть нейлоновую шайбу (внутренний диаметр 3/8″)
поскользнулся на долото перед насосно-компрессорной трубой. Стиральная машина сохраняет
трубку от закручивания биты в патрон.
Некоторые дюбели могут быть настолько плотными, что вам понадобится
плоскогубцы, чтобы удалить их (и это без клея!).
Мои тестовые дюбели не ослаблены, они просто не настолько тугие, что я не могу
получить их обратно с моими пальцами.
Не
сойти с ума с молотком, вы не хотите, чтобы грибы концы
дюбели с вещью.
Если ваш проект опирается на какой-либо
постепенное увеличение прочности, обеспечиваемое другим типом соединения,
нужно вернуться к чертежной доске (изменить дизайн, добавить
растяжка, что ли).Просто неразумно работать в
края, где требуется прочность.
(да, они у меня есть, вместо них я использую шаблонные приспособления). Наличие
недорогое акриловое приспособление упало со скамейки и попало в мой бетонный магазин
пол не имеет большого значения.Имея тяжелый алюминиевый джиг за 200 долларов
этаж? Мое сердце остановилось бы!
две заготовки размещены в правильной ориентации на моем
скамейка.Я еще раз использовал перманентный маркер, чтобы отметить края
Я хочу выровнять и показать ориентацию дюбелей. Ты
следует использовать карандаш, маркер только для четкой разметки
видны на изображениях.
Чтобы отрегулировать приспособление, я сначала перевернул упор так, чтобы рукоятка наждачной бумаги
столкнулся с правильным набором отверстий.Тогда с винтами еще
свободно, я поместил упор поверх приклада и нажал на шаблон
к скамье и затянул винты. Никаких распорок нет
требуется на этот раз, отверстия на этой стороне приспособления установлены на
центр на заготовке толщиной 1-1/4 дюйма.
Теперь я использую направляющую для сверления в каждом из пяти отверстий шаблона, чтобы
просверлить отверстие в моей заготовке.
Пять дюбелей вставлены в пять отверстий, которые я только что просверлил в поперечине.
Это будет сильное соединение.
Некоторые из них используются в других местах в
дом и домашний офис (вроде мой принтер/сканер/все остальное стоят).
Это позволяет
вам делать шаблоны из различных материалов (и толщины) и
гарантирует, что втулка может быть полностью прижата к вашему прикладу (имея
втулка, прижатая к прикладу, сводит к минимуму разрыв).
Мой сустав будет 12 дюймов в длину, поэтому я сделал
шаблон длиной 14 дюймов или около того. Я отметил линию на 12 дюймов и
просверлил три комплекта из двух отверстий размером 25/64 дюйма (размер для
втулка сверла 1/4 дюйма).Я просверлил еще одно отверстие, которое
3/8 дюйма для дюбеля, выполняющего роль упора. Если нажать на этот
фото вы можете увидеть увеличенную версию, которая показывает, что эта сторона отмечена
«I» и стрелки, указывающие на край, который я выбрал
как моя ссылка (может быть любой край, просто должен быть последовательным на
следующая сторона).
опорный край. Эта референтная кромка всегда располагается в направлении
все, что мы используем в качестве забора.
С таким расположением я смог бы просверлить все четыре
ряды отверстий за одну операцию зажима (FAST).


com
0 thoughts on “Кондуктор для сверления отверстий под шканты своими руками: Простой кондуктор для сверления отверстий под шканты”